Patent Memo
技術の「すごい」を特許公報・意匠公報から読み解く解説メモ

【素材・化学】化学工場の心臓部を守る!旭化成の「電極長寿命化」技術

素材・化学 環境・エネルギー 作成日: 2026.02.20
[広告スペース]

今回ご紹介するのは、令和7年度 全国発明表彰において最高賞である「恩賜発明賞」を受賞した、旭化成株式会社による「ニッケルを用いた電極長寿命化技術の発明(特許第6120804号:発明の名称「電解セル及び電解槽」)」です。

私たちの生活に欠かせない石鹸、ガラス、水道水の消毒薬。これらはすべて「塩水を電気分解(食塩電解)」して作られる基礎化学品から生まれます。

日本の消費電力の約1%を占めるとも言われるこの巨大な電解プロセスにおいて、「電極の寿命を劇的に延ばし、莫大な省エネを実現した」という、まさに社会の底力を支える画期的な発明の仕組みを解説します。

【課題】電解工場を悩ませる「逆電流」による電極の破壊

食塩水を電気分解するためには、イオン交換膜を挟んで陽極と陰極を配置した「電解セル」を使用します。電気分解を効率よく行うため、陰極の表面には特殊な触媒コーティングが施されています。

工場は24時間稼働が理想ですが、設備のメンテナンスや、近年増えている「再生可能エネルギーの出力変動」に合わせて、運転を一時停止することがあります。

実は、運転を停止して電源を切ると、電解セル内で電池の放電のような現象が起き、通常の電気分解とは逆方向の電流(逆電流)が流れてしまいます。この逆電流が、陰極の表面にある高価な触媒コーティングを酸化・溶解させ、ボロボロに破壊(剥離)してしまうという深刻な課題がありました。

【解決策】ダメージを肩代わりする「逆電流吸収層」

この課題に対し、旭化成の開発チームは「逆電流を発生させない」のではなく、「逆電流のダメージを別の層に吸収させる」というアプローチをとりました。

本特許の最大の特徴は、陰極の基材と触媒コーティングの間に、酸化ニッケル(酸化Ni)や金属ニッケル(金属Ni)を溶射(熱で溶かして吹き付ける技術)して形成した「逆電流吸収層」を設けた点です。

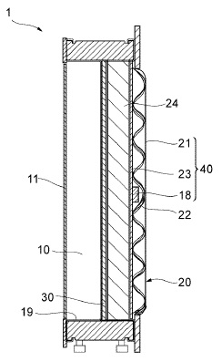
電解セルの断面図
図1:電解セルの断面図。内部に配置された陰極の表面に、独自の吸収層と触媒がコーティングされています。(出典:特許第6120804号)

ニッケルが「身代わり」になって触媒を守る

運転が停止して逆電流が流れた際、表面の触媒がダメージを受ける前に、この「逆電流吸収層」のニッケル成分が優先的に酸化反応を起こします。つまり、ニッケル層が電気的エネルギーを吸収する「バッテリー」や「身代わり」のように働き、逆電流を消費し尽くしてくれるのです。

これにより、表面の触媒コーティングの剥離や劣化が完全に防がれます。公報のデータによれば、比較例では剥がれ(有)が発生したのに対し、この技術を用いた実施例では剥がれが「無」であることが証明されています。

【効果】圧倒的な耐久性と、再エネ導入への貢献

この「逆電流吸収層」の効果は絶大です。以下の図2は、長期間の電解運転において、電気を余分に消費してしまう「水素過電圧の上昇」を比較したグラフです。

水素過電圧上昇の比較グラフ
図2:電解時間(横軸)に対する電圧の上昇(縦軸)の比較。実施例4(■)は電圧が上昇せず、安定した性能を維持しています。(出典:特許第6120804号)

従来の技術(比較例2:▲)では、電解時間の経過とともに過電圧が急激に上昇(約40~45mV)し、余分な電力を浪費してしまいます。しかし、本特許の技術(実施例4:■)では、電圧の上昇がほぼ0のままフラットに推移しており、極めて高い耐久性と省エネ性能が維持されていることが分かります。

💡 技術のポイント:恩賜発明賞に選ばれた理由

この発明は、単に「部品が長持ちするようになった」というレベルの話ではありません。

  • 莫大な省エネ効果: 電圧の上昇を防ぐことで、工場全体の消費電力を大幅に削減できます。
  • 再生可能エネルギーとの親和性: 電極が逆電流に強くなったため、太陽光や風力発電の「発電量が不安定な電力」を使っても、こまめにプラントを停止・起動できるようになりました。

化学産業のカーボンニュートラル化を根底から支え、世界のインフラに多大な貢献を果たしている点が、最高賞である恩賜発明賞にふさわしいと評価されたのです。

特許情報まとめ

発明の名称 電解セル及び電解槽
特許番号 特許第6120804号
特許権者 旭化成株式会社
発明者 船川 明恭、蜂谷 敏徳
出願日 平成26年6月11日 (2014.06.11)
※原出願日: 平成25年3月18日 (2013.03.18)
登録日 平成29年4月7日 (2017.04.07)
受賞歴 令和7年度 全国発明表彰 恩賜発明賞
※併せて「発明実施功績賞」を受賞
関連リンク Google Patentsで全文を読む
J-PlatPatで公報・経過情報を確認
[広告スペース]