Patent Memo
技術の「すごい」を特許公報・意匠公報から読み解く解説メモ

【自動車・モビリティ】EVの電費を劇的改善!トヨタの「超低損失パワー半導体」技術

自動車・モビリティ 半導体・IT 作成日: 2026.02.19
[広告スペース]

今回ご紹介するのは、令和7年度 全国発明表彰において「文部科学大臣賞」を受賞した、株式会社豊田中央研究所およびトヨタ自動車株式会社による「ダイオードおよび半導体装置(特許第5919121号)」です。

ハイブリッド車(HV)や電気自動車(EV)のモーターを制御する「インバータ」。その心臓部であるパワー半導体において、別々だった2つの部品(IGBTとダイオード)を1つのチップに統合する「RC-IGBT(逆導通IGBT)」という技術が注目されています。

長年の課題だった「相反する性能のジレンマ」を見事に解決し、世界トップクラスの低損失を実現した、緻密な半導体構造の秘密を解き明かします。

【課題】損失を減らすと、漏れ電流が増える「トレードオフ」

インバータには、スイッチの役割を果たす「IGBT」と、電流の逆流を防ぐ「還流ダイオード」という2つのパワー半導体がセットで使われます。これらを1つのシリコンチップ上に作る「RC-IGBT」は、モジュールの小型化に不可欠です。

しかし、ダイオード部分の性能を上げよう(=電気を流す時の抵抗「オン電圧」を下げよう)とすると、内部に電子や正孔(キャリア)を溜め込みやすい構造にする必要があります。

ところが、キャリアが溜まりやすい構造にすると、今度はスイッチをオフにして逆方向に高い電圧がかかった際に、「リーク電流(漏れ電流)」が増加してしまい、最悪の場合は素子が破壊されてしまうという、あちらを立てればこちらが立たない「トレードオフ」の壁がありました。

【解決策】トレンチの底に設けた「フローティングp層」の魔法

この矛盾を根本から解決したのが、本特許で開発された特殊な「トレンチ(溝)」構造です。

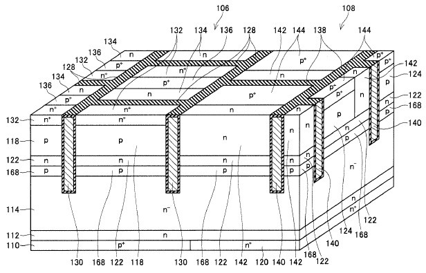
RC-IGBTの全体斜視図
図1:開発されたRC-IGBTの立体図。IGBT領域(106)とダイオード領域(108)が同じチップにシームレスに形成されています。(出典:特許第5919121号)

1. トレンチ底部の「p型領域」が鍵

図2の断面図をご覧ください。ダイオード領域には縦に深く掘られた溝(トレンチ48)があり、その中に絶縁膜を介して電極が埋め込まれています。

本特許の最大の特徴は、このトレンチの底面を包み込むように、周囲から独立した「p型の半導体領域(36)」を設けた点にあります。

ダイオード部の断面図
図2:ダイオード領域の断面図。トレンチ(48)の底部に接するように、独立したp型領域(36)が配置されています。(出典:特許第5919121号)

2. 電気の振る舞いを自動で切り替える

この「底部のp型領域(36)」が、電流の向きによって魔法のような働きをします。

  • 順方向(電気を流す時): トレンチとp型領域が「壁」となってキャリアの通り道を狭め、ダイオード内部にキャリアを密集させます。これにより電気抵抗が劇的に下がり、低損失(低オン電圧)を実現します。(専門用語でIE効果と呼びます)
  • 逆方向(電気を止める時): 高い電圧がかかると、底部のp型領域(36)から「空乏層」と呼ばれる電気を通さないバリアが横方向に一気に広がります。これが電界の集中を和らげ、リーク電流を強力にシャットアウトするのです。

3. トレードオフの打破を実証

以下の図3は、高温環境下(200℃)における逆方向電圧とリーク電流の関係を示したグラフです。

逆方向電圧とリーク電流のグラフ
図3:本特許の構造(実施例1, 2)は、高い電圧をかけてもリーク電流が極めて低く安定して抑えられています。(出典:特許第5919121号)
💡 技術のポイント:構造で物理をコントロールする

パワー半導体の性能向上には「SiC(炭化ケイ素)」のような新しい素材を使うアプローチが有名ですが、コストが高いのが難点です。

この発明の凄さは、安価で一般的なシリコン(Si)素材のまま、「トレンチの深さ」や「底部のp型領域」といったミクロな3D構造を緻密に設計することで、限界と思われていた性能を引き出した点にあります。基礎研究を極めた豊田中央研究所ならではの「構造の妙」と言えます。

【効果】インバータの小型化でEVの航続距離を伸ばす

このRC-IGBT技術が実用化されることで、自動車社会に多大な恩恵をもたらします。

  • インバータの劇的な小型化: 2つのチップ(IGBTとダイオード)を1つに統合できるため、インバータモジュール全体を大幅に小型化・低コスト化できます。
  • 省エネ(電費向上): 電力変換時のロス(熱になる無駄)が減るため、同じバッテリー容量でもEVやHVの航続距離が確実に延びます。

特許情報まとめ

発明の名称 ダイオードおよび半導体装置
特許番号 特許第5919121号
特許権者 株式会社豊田中央研究所
トヨタ自動車株式会社
発明者 山下 侑佑、町田 悟、杉山 隆英、斎藤 順
出願日 平成24年7月27日 (2012.07.27)
登録日 平成28年4月15日 (2016.04.15)
受賞歴 令和7年度 全国発明表彰 文部科学大臣賞
※併せて「発明実施功績賞」を受賞
関連リンク Google Patentsで全文を読む
J-PlatPatで公報・経過情報を確認
[広告スペース]