Patent Memo
技術の「すごい」を特許公報・意匠公報から読み解く解説メモ

【素材・建材】歪みを防いで美しい外装へ!アイジー工業の「建築用金属外装材」

素材・建材 金属加工 作成日: 2026.02.25
[広告スペース]

今回ご紹介するのは、令和7年度 全国発明表彰において「日本商工会議所会頭賞」という非常に名誉ある賞を受賞した、アイジー工業株式会社による「建築用金属外装材」の技術(特許第6101071号)です。

住宅や店舗の外壁として使われる「金属サイディング(金属外装材)」。軽くて丈夫な反面、表面に美しい模様(レンガ調や木目調など)をプレス加工する際、どうしても金属板が引っ張られて「歪み」が生じてしまうという製造上の大きな壁がありました。

この特許は、一見目立たない「板の端っこ(連結部分)」に特殊な凹凸加工を施すことで、その歪みをピタッと抑え込み、美しい外壁の大量生産を可能にした画期的な発明(発明者:荒木 和彦 氏)です。

【課題】模様をつけると板が引っ張られ、端部が歪んでしまう

金属外装材を製造する際、平らな金属板をロールの間に通して、表面にデザイン(意匠部)を型押し(エンボス加工)していきます。

しかし、中央の化粧面に模様を深く押し込むと、周囲の鉄板が中央に向かって引っ張られる「引き込み現象」が発生します。その結果、外装材同士を噛み合わせて壁に貼り付けるための重要なパーツである「端部の連結部分」が波打つように歪んでしまい、うまく施工できなかったり、平滑で繊細な柄が綺麗に表現できなかったりするという課題がありました。

【解決策】連結部分に「凹凸群」を設けて引き込みを相殺する

この課題に対し、アイジー工業は「意匠部を加工するのと同時に、外装材の連結部分(端部)にあえて細かな凹凸を連続して設ける」という逆転の発想で解決しました。

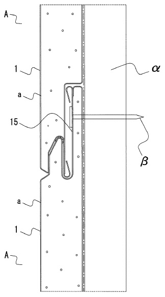
建築用金属外装材の施工状態を示す断面図
図1:金属外装材の施工状態を示す断面図。上下の板の端部(連結部分)がパズルのようにしっかりと噛み合っている様子がわかります。(出典:特許第6101071号)

1. 歪みを吸収する「凹部と凸部の連続配置」

公報の図面(下記図2)を見ると、連結部分の表面に、凸部と凹部が交互に並んだ「凹凸群」が複数形成されていることがわかります。

化粧面(意匠部)をプレスして板が中央に引っ張られそうになっても、この端部の「凹凸群」が一種のストッパーやクッションの役割を果たし、鉄板の引き込みを物理的に抑え込みます。これにより、連結部分が真っ直ぐで歪みのない状態を保てるようになりました。

連結部分に形成された凹凸群の拡大図
図2:連結部分に設けられた凹凸群の拡大図。この細かな起伏が、金属板全体の歪みをコントロールする鍵となります。(出典:特許第6101071号)
💡 技術のポイント:金型ロールの寿命を延ばすエコな副産物

この凹凸加工の恩恵は「歪み防止」だけではありません。端部の加工強度を最適に調整できるようになったことで、模様を押し付ける「成形ロール(金型)」への過度な負荷が減り、ロールの摩耗を大幅に防ぐことができるようになりました。従来よりも少ないエネルギーで、かつ安定して様々な模様の金属外装材を生産できるようになったという、製造現場にとって夢のような技術です。

【効果】「浅く細かい柄」など、これまでにない高いデザイン性

この技術によって、金属外装材の世界に以下のような進化がもたらされました。

  • 表現力の飛躍的な向上: 歪みを気にせずに加工できるため、これまで困難だった「浅く細かい柄」など、平滑性が求められる洗練されたデザインの連続生産が可能になりました。
  • 施工不良の低減: 連結部分の精度と強度がアップしたため、職人さんが現場で壁に施工する際、板同士がピタッと綺麗に噛み合い、隙間や浮きのない美しい仕上がりになります。

目に見えない「端っこ」の小さな工夫が、私たちが毎日目にする建物の「美しい外観」を支えているという、日本のモノづくりの真髄を感じる素晴らしい発明です。

特許情報まとめ

発明の名称 エンボス加工金属外装材
特許番号 特許第6101071号
特許権者 アイジー工業株式会社
発明者 荒木 和彦
出願日 平成24年12月26日 (2012.12.26)
登録日 平成29年3月3日 (2017.03.03)
受賞歴 令和7年度 全国発明表彰 日本商工会議所会頭賞
※併せて「発明実施功績賞」を受賞
関連リンク Google Patentsで全文を読む
J-PlatPatで公報・経過情報を確認
[広告スペース]