Patent Memo
技術の「すごい」を特許公報・意匠公報から読み解く解説メモ

【ロボット・機械】少ない空気で大風量!トリーエンジニアリングの「超省エネ・エアノズル」

ロボット・機械 環境・省エネ 作成日: 2026.03.02
[広告スペース]

今回ご紹介するのは、令和7年度 全国発明表彰において「発明賞」を受賞した、株式会社トリーエンジニアリングの「気体吐出用ノズル及び搬送装置(特許第6745557号)」です。

モノづくりの現場では、洗浄後の水滴を吹き飛ばしたり、ホコリを除去したり、部品を風の力で搬送したりするために「エアノズル」が数多く使われています。しかし、これらに圧縮空気を送り込む「コンプレッサ」は、工場全体の消費電力の20%~30%を占めるとも言われる大飯食らいの設備でした。

この特許は、流体力学の「コアンダ効果」を利用し、「吐出する空気の何倍もの周囲の空気を巻き込んで増幅させる」という魔法のような仕組みを、精密な加工技術で実現した超省エネノズルの発明です。

【課題】強い風を出そうとすると、電気代が跳ね上がる

パイプの先をただ細くしただけの単純なノズルで強い風(高速な噴流)を得ようとすると、コンプレッサの圧力を高く設定し、大量の圧縮空気を消費しなければなりません。

これを解決するために「スリット(極めて細い隙間)」から空気を薄く吐出するノズルが存在しますが、従来の構造ではスリットの隙間を均一に保つために金属の薄板(シム)を挟み込む必要があり、内部で空気の乱れ(乱流)が生じてエネルギーロスや騒音が発生するという課題がありました。

【解決策】緻密な傾斜面が「コアンダ効果」を最大化する

トリーエンジニアリングは、内部の流路形状を根本から見直し、空気が極めてスムーズに加速・吐出される画期的なノズル構造を開発しました。

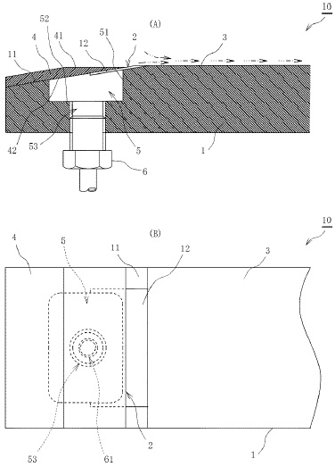
気体吐出用ノズルの先端断面図
図1:ノズル先端の断面図。カバー(4)の傾斜面に沿って滑らかに空気が導かれ、極小のスリット(2)から吐出されます。(出典:特許第6745557号)

1. 乱れのない整流を生み出す内部構造

公報の図面(上記図1)を見ると、圧縮空気が通る流路(11)が、出口(スリット2)に向かって滑らかに狭くなっていることがわかります。この緻密に計算された傾斜面により、空気は乱流を起こすことなく極限まで加速され、薄い刃物のような「整流」となって吐出されます。

2. 周囲の空気を強烈に引き込む「エアアンプ」

吐出された高速の空気は「コアンダ効果(流体が物体の表面に吸い寄せられるように流れる性質)」によって、ノズルボディの表面にピタッと沿って流れます(図1の矢印3)。

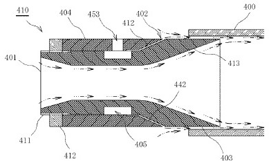
円筒形の気体吐出用ノズル(エアアンプ)の断面図
図2:円筒状のノズル断面図。わずかな圧縮空気(実線矢印)が、後方から大量の周囲の空気(点線矢印)を吸い込んで大風量を生み出します。(出典:特許第6745557号)

この高速な流れが周囲の静止している空気を強力に引っ張り込むため、図2のような円筒形のノズルでは、「実際に消費した圧縮空気の数十倍」という大風量を生み出すことができます。

💡 技術のポイント:部品点数の削減とメンテナンスフリー

この発明の優れた点は、空気の流路を形成するためにスペーサーなどの余分な部品を使わず、ボディとカバーの形状そのものでスリットを形成している点です。これにより、ゴミが詰まりにくく、分解清掃も容易な「現場で使いやすい」タフな設計となっています。

【効果】工場の電力消費と騒音を同時にカット

このノズルを工場に導入することで、以下のような絶大な効果が得られます。

  • 圧倒的な省エネ: 少ない圧縮空気で必要な風量・風速を得られるため、コンプレッサの消費電力を劇的に削減できます。
  • 騒音の低減: 空気の乱れ(乱流)が少ないため、従来のノズルで発生していた耳障りな高周波の騒音が大幅に抑えられ、作業環境が改善します。

流体の振る舞いを緻密にコントロールし、見えない「空気」で日本の産業の省エネ化を力強く後押しする、素晴らしい機械発明です。

技術情報まとめ

発明の名称 気体吐出用ノズル及び搬送装置
特許番号 特許第6745557号
特許権者 株式会社トリーエンジニアリング
発明者 古堤 泰次、古堤 裕行
出願日 令和2年3月6日 (2020.03.06)
※原出願日: 平成29年6月21日 (2017.06.21)
登録日 令和2年8月6日 (2020.08.06)
受賞歴 令和7年度 全国発明表彰 発明賞
関連リンク Google Patentsで全文を読む
J-PlatPatで公報・経過情報を確認
[広告スペース]