Patent Memo
技術の「すごい」を特許公報・意匠公報から読み解く解説メモ

【インフラ・IT】コードを貼るだけで連動!デンソーウェーブの「ホームドア制御システム」

インフラ・通信 画像処理・IT 作成日: 2026.03.09
[広告スペース]

今回ご紹介するのは、令和7年度 全国発明表彰において「発明賞」を受賞した、株式会社デンソーウェーブおよび東京都による「ホームドア制御システム(特許第6993570号)」です。

駅のホームにおける転落事故を防ぐ「ホームドア」。誰もが必要性を認識しながらも、車両のドアとホームドアを連動させるための「車両側の改造コスト」が莫大であり、普及の大きな障壁となっていました。

この特許は、車両を電気的に改造するのではなく、車両のドアに「二次元コード(情報コード)」のシールを貼り付け、ホーム側のカメラで読み取って動きを追跡するという逆転の発想で、コストと期間の壁を打ち破った画期的なインフラIT技術です。

【課題】相互乗り入れが「ホームドア普及」を阻む

電車のドアとホームドアを同時に開け閉めするためには、従来、車両のシステムを改修して無線通信装置などを搭載する必要がありました。

しかし、特に首都圏の地下鉄などのように、様々な鉄道会社の多種多様な車両が「相互乗り入れ」をしている路線では、扉の数や位置もバラバラです。それらすべての車両を改修するには一編成あたり数千万円、全体で数十億円規模のコストと、途方もない工期がかかるという深刻な課題がありました。

【解決策】カメラで「コードの移動」を検知して連動させる

デンソーウェーブは、自社が開発し世界中に普及している「二次元コード(QRコード等)」の技術を応用し、ハードウェア(車両)の改造をソフトウェア(画像認識)で代替するシステムを生み出しました。

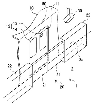
ホームドアと車両、カメラの配置を示す全体構成図
図1:システムの全体構成図。車両(10)のドアに情報コード(50)が貼られ、ホームの天井等に設置されたカメラ(30)がそれを撮影するシンプルな構成です。(出典:特許第6993570号)

1. ドアが開く「動き」をカメラで認識する

公報の図面(上記図1)が示すように、車両の扉には情報コード(50)が貼り付けられています。車両が駅に停まり、車掌の操作によって車両側の扉が開くと、扉と一緒に情報コードも横へ移動します。

ホーム側に設置されたカメラ(30)はこのコードを連続して撮像しており、「情報コードが遠ざかる方向に移動した(=扉が開いた)」と画像認識で判定すると、即座にホームドアへ「開指示」を送信し、自動でホームドアを開きます。閉まる時も同様にコードの動きを追跡して連動させます。

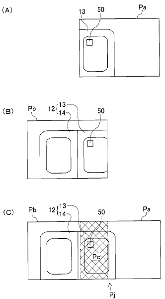
車両のドアに貼られた情報コード(二次元コード)の図
図2:車両のドアに貼付される情報コード(二次元コード)の例。汚れや欠損があっても正確に読み取れる高い認識技術が活かされています。(出典:特許第6993570号)

2. コードに「車両の情報」を持たせて柔軟に対応

ただ動きを見るだけでなく、このコードには「会社名、路線、号車、ドア番号、ドア数」などの車両ごとの識別データが含まれています。

これにより、ホーム側のシステムは「今、目の前にどの路線の何ドアの車両が停まっているか」を瞬時に把握できます。ドアの位置や数が違う車両が混在していても、開けるべきホームドアだけを正確に制御することが可能になりました。

💡 技術のポイント:過酷な屋外環境に耐える画像認識

駅のホームは、西日が強く差し込んだり、夜間で暗かったり、泥や雨でコードが汚れたりする過酷な環境です。デンソーウェーブが長年培ってきた「どんな悪条件でも二次元コードを高速・正確に読み取るアルゴリズム」があってこそ実現した、極めて信頼性の高いシステムと言えます。

【効果】日本中の駅に「安全」をいち早く届ける

この「QRコードを用いたホームドア連動技術」により、以下のような絶大な効果が生まれました。

  • 大幅なコスト削減と工期短縮: 車両側の対応が「シール(コード)を貼るだけ」となり、1編成あたり数万円程度のコストで済むようになりました。
  • ホームドア整備の加速: 資金や車両改修のハードルで導入をためらっていた多くの路線で、ホームドアの設置が急速に進んでいます。

日本発のIT技術が、私たちの毎日の通勤・通学の安全を陰ながら支えている、社会的意義の非常に大きい素晴らしい発明です。

技術情報まとめ

発明の名称 ホームドア制御システム
特許番号 特許第6993570号
特許権者 株式会社デンソーウェーブ、東京都
発明者 宮崎 学、鴻巣 光司、原 昌宏、牛嶋 隆雄、太田 裕、神戸 陽介、岡本 誠司、久保 実、岩田 洋明
出願日 平成30年1月15日 (2018.01.15)
登録日 令和3年12月14日 (2021.12.14)
受賞歴 令和7年度 全国発明表彰 発明賞
関連リンク Google Patentsで全文を読む
J-PlatPatで公報・経過情報を確認
[広告スペース]