Patent Memo
技術の「すごい」を特許公報・意匠公報から読み解く解説メモ

【船舶・モビリティ】風を掴む、そして畳む!大内海洋コンサルタントらの「伸縮式・硬翼帆」

自動車・モビリティ 特許解説 作成日: 2026.02.23
[広告スペース]

今回ご紹介するのは、令和7年度 全国発明表彰において「WIPO賞」を受賞した、株式会社大内海洋コンサルタントと株式会社ジーエイチクラフトが共同で特許を取得した「帆走船(特許第5318008号)」の技術です。

地球温暖化対策として、大型貨物船の動力に「風の力」を再利用する技術(ウインドチャレンジャー計画など)が世界中で注目を集めています。

しかし、巨大な帆を立てた船には「ある致命的な弱点」がありました。その問題を、まるで手品のように「入れ子状に縮むマストと帆」で解決したのがこの特許です。

【課題】巨大な帆は、嵐の時や荷役の「邪魔」になる

船の燃費を劇的に向上させるためには、布の帆よりも、飛行機の翼のような形をした「硬翼帆(こうよくほ)」を立てるのが効率的です。

しかし、甲板の上に巨大なタワーのような硬翼帆がそびえ立っていると、以下のような問題が発生します。

  • 荒天時の危険性: 台風などの猛烈な風を受けると、帆が受ける抵抗が大きすぎて船が転覆する危険があります。
  • 橋をくぐれない: 港に入る際、レインボーブリッジのような橋の下を通過できなくなります。
  • 荷役の邪魔: 港でクレーンを使ってコンテナを積み下ろしする際、巨大な帆がクレーンと衝突する大きな障害物になります。

【解決策】マストごと「入れ子状」に伸縮する硬翼帆

この課題に対し、本特許では「帆を複数のパーツに分割し、不要な時はコンパクトに畳んでしまう」という大胆な機構(テレスコピック構造)を提案しました。

伸縮式の硬翼帆を搭載した帆走船の全体図
図1:甲板上にそびえ立つ伸縮式の「硬翼帆(2)」。複数段に分かれているのがわかります。(出典:特許第5318008号)

1. マトリョーシカのように格納される帆

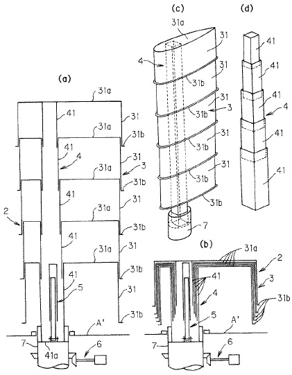
公報の図面(下記図2)を見ると、帆(3)が複数の分割された翼部(31)で構成されていることがわかります。 内部にあるマスト(41)も、ラジオのアンテナのように複数段に分かれています。

風を利用する時は図2(a)のようにモーター(6)等の力で一番上まで展開し、嵐の時や港に着いた時は図2(b)のように、下段の翼部の中に上段の翼部がすっぽりと収まるように下降します。

硬翼帆の伸縮メカニズム
図2:(a)は展開時、(b)は格納時。各段が重なり合うようにストンと収納されます。(出典:特許第5318008号)
💡 技術のポイント:強度と軽量化の両立

高さ数十メートルにもなる帆が強風に耐えるためには、凄まじい強度が必要です。株式会社ジーエイチクラフトはFRP(繊維強化プラスチック)などの複合材料のプロフェッショナルであり、このような巨大でありながら軽く、かつ伸縮をスムーズに行える高度な構造設計が、この発明の実現を裏付けています。

【効果】エコと実用性の完全な両立

この伸縮式硬翼帆のアイデアにより、以下の効果が期待できます。

  • 究極のエコ運航: 追い風の時は帆を最大展開し、エンジンの燃料消費とCO2排出量を大幅に削減できます。
  • 安全性の確保: 台風時や向かい風の強い時は、帆を最小まで縮めることで風の抵抗をなくし、安全に航行できます。
  • 既存港湾の利用: 縮めれば通常の船と高さが変わらないため、橋の下の通過や、港のクレーンによる荷役作業を一切妨げません。

「大風の時は帆を畳む」という帆船時代からの当たり前の行為を、巨大な現代のタンカーや貨物船で最新技術を用いて復活させた、非常にロマン溢れる素晴らしい特許です。

特許情報まとめ

発明の名称 帆走船
特許番号 特許第5318008号
特許権者 株式会社大内海洋コンサルタント
株式会社ジーエイチクラフト
発明者 大内 一之、鵜沢 潔、木村 學
出願日 平成22年3月19日 (2010.03.19)
登録日 平成25年7月19日 (2013.07.19)
受賞歴 令和7年度 全国発明表彰 WIPO賞
※併せて「発明実施功績賞」を受賞
関連リンク Google Patentsで全文を読む
J-PlatPatで公報・経過情報を確認
[広告スペース]