Patent Memo
技術の「すごい」を特許公報・意匠公報から読み解く解説メモ

【製造・生産技術】めっきの層構造を「角度」で暴く!リガクの「高精度蛍光X線分析」

製造・生産技術 素材・化学 作成日: 2026.04.03
[広告スペース]

今回ご紹介するのは、令和7年度 近畿地方発明表彰において「大阪発明協会会長賞」を受賞した、株式会社リガクの「蛍光X線分析装置および方法(特許第4262734号)」です。

自動車のボディなどに使われる「合金化溶融亜鉛めっき鋼板」。サビに強く塗装しやすいこの鋼板の製造ラインでは、めっきの「付着量」や「鉄(Fe)の含有率」をリアルタイムで測定し、品質を管理する必要があります。

本特許は、非接触で成分を測る「蛍光X線分析」において、X線を読み取る『角度』を巧みに使い分けることで、めっき内部の複雑な層構造が引き起こす測定誤差を数学的に打ち消す、世界トップクラスの分析・計測技術です。

【課題】めっきは「均一な層」ではないという罠

鉄の鋼板の上に亜鉛めっきを施して加熱すると、鉄と亜鉛が混ざり合い「合金化溶融亜鉛めっき」が形成されます。このめっき層の成分(Feの割合など)を測るために、工場ではX線を当てて跳ね返ってくる光(蛍光X線)の強さを測る装置が使われています。

しかし、ここに大きな落とし穴がありました。めっき層は全体が均一に混ざっているわけではなく、表面から鋼板に向かって、Fe濃度が異なる複数の層(ζ相、δ1相、Γ相)のミルフィーユ状になっています。

生産条件によって「表面のζ相だけが少し厚くなる」といった層のバランス変動が起きると、めっき全体の付着量やFeの含有率が同じであっても、跳ね返ってくるX線の強さが変わってしまい、測定結果に大きな誤差が生じてしまうという課題を抱えていました。

【解決策】「高角度」と「低角度」の二刀流で深さを読み分ける

リガクは、X線が物質から飛び出してくる際の「角度」によって、情報を拾いやすい「深さ」が変わるという物理法則に着目し、この誤差を計算で補正する手法を発明しました。

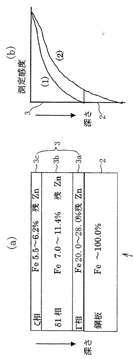
めっき被膜の層構造と測定感度のグラフ
図1:めっき被膜の層構造と深さ方向の測定感度。めっきはFe濃度が異なる複数の層(ζ相、δ1相、Γ相)に分かれています。X線を取り出す角度を変えると、グラフ(1)や(2)のように「表面付近の感度」と「深い部分の感度」を意図的に変化させることができます。(出典:特許第4262734号)

1. 2つの角度(高角度と低角度)から同時に検出

X線を試料(鋼板)の真上(高角度:例えば40度)から検出すると、めっき層の奥深くまで全体の情報をまんべんなく拾うことができます。一方で、すれすれの斜め(低角度:例えば5度〜10度)から検出すると、X線が試料内を長く通る間に吸収されてしまうため、「表面付近(ζ相)の情報」だけが強調されて検出されます。

蛍光X線分析装置の構成図
図2:蛍光X線分析装置の構成図。X線源(7)から照射されたX線に対し、複数の検出器(9D, 9Eなど)が異なる角度(α, β)で配置され、同時に蛍光X線を読み取ります。(出典:特許第4262734号)

図2のように、本装置は高角度と低角度にそれぞれ検出器を配置し、異なる深さの情報を同時に取得します。

2. FP法(ファンダメンタルパラメータ法)による誤差の補正

次に、高角度で検出したメインのX線強度(全体の情報)と、低角度で検出したサブのX線強度(表面付近の情報)を、X線分析の理論計算式である「FP法」に組み込みます。

低角度のデータを見ることで「あ、いま表面のζ相が通常より厚くなっているな」という層構造の偏りをアルゴリズムが推測します。その偏りによって生じるX線強度のズレを計算によって差し引く(補正する)ことで、層構造がどのように変動していても、正確な「Fe含有率」と「付着量」を導き出せるようになりました。

💡 技術のポイント:見えない内部構造を「角度の差」で推測する

この特許の秀逸な点は、めっきを削ったり破壊したりすることなく、「検出角度による脱出深さの違い」という物理現象を利用して、ブラックボックスであるめっき内部の「層構造の偏り」を間接的に推測し、ソフトウェアの力でノイズ(誤差)を相殺した点にあります。ハードウェア(多角度検出)とソフトウェア(演算アルゴリズム)の美しい融合です。

【効果】高品質な自動車用鋼板の安定生産を支える

この蛍光X線分析技術により、鉄鋼メーカーの製造現場に以下のような劇的な効果がもたらされます。

  • 製造ライン上(インライン)での高精度な品質管理: めっき層の構造が変動しやすい生産条件下でも、立ち止まることなく正確な成分測定が可能になり、歩留まりが向上します。
  • 自動車用鋼板のさらなる高品質化: プレス加工性や防錆性に直結する「Fe含有率」を厳密にコントロールできるようになり、より高品質で安全な自動車づくりに貢献します。
  • 破壊検査コストの削減: 試料を切り出して化学分析を行う必要性が減り、品質保証にかかる時間とコストを大幅に削減できます。

日本の基幹産業である「鉄鋼」の品質を、世界トップレベルの計測技術が裏で支えていることを示す本特許。大阪発明協会会長賞の受賞にふさわしい、産業の根底を強固にする素晴らしい発明です。

【補足】この記事で登場した技術キーワード

蛍光X線分析
物質にX線を照射した際、構成元素固有のエネルギー(波長)を持って発生する二次的なX線(蛍光X線)を測定・解析する手法です。非破壊かつ非接触で、金属の付着量や元素組成を瞬時に特定できるため、製造ラインにおけるリアルタイムの品質管理に広く用いられています。
FP法
X線の物理定数に基づいた理論計算式を用いて、試料の元素濃度や膜厚を算出する定量分析手法です。標準試料を多数用意して比較する検量線法に対し、物理法則に基づく理論モデルを用いることで、複雑な層構造を持つ未知の試料でも精度の高い分析を可能にします。
取出角(脱出深さ)
試料内部で発生した蛍光X線が表面に向かって飛び出してくる際の角度のことです。角度が低い(水平に近い)ほどX線は物質内を長く通るため、深い場所からの信号は自己吸収によって減衰し、表面付近の情報が強調されます。この角度依存性を利用することで、多層膜の各層の状態や組成の偏りを、表面を削ることなく推測することが可能になります。

特許情報まとめ

発明の名称 蛍光X線分析装置および方法
特許番号 特許第4262734号
特許権者 株式会社リガク
発明者 片岡 由行、古澤 衛一、河野 久征
出願日 平成18年8月9日 (2006.8.9)
登録日 平成21年2月20日 (2009.2.20)
受賞歴 令和7年度 近畿地方発明表彰 大阪発明協会会長賞
関連リンク Google Patentsで全文を読む
J-PlatPatで公報・経過情報を確認
[広告スペース]