Patent Memo
技術の「すごい」を特許公報・意匠公報から読み解く解説メモ

【食品・ライフスタイル】汚れると文字が浮かび上がる!東洋アルミの「交換お知らせフィルター」

食品・ライフスタイル 素材・化学 作成日: 2026.04.02
[広告スペース]

今回ご紹介するのは、令和7年度 近畿地方発明表彰において「大阪発明協会会長賞」を受賞した、東洋アルミエコープロダクツ株式会社の「フィルター構造体(特許第7022171号)」です。

キッチンの換気扇や通気口に貼る「汚れ防止フィルター」。汚れてくると「とりかえてネ」という文字が浮かび上がる便利な商品を見たことがある方も多いのではないでしょうか。

本特許は、この文字を「インク(印刷)」を使わずに表現することで、フィルターの通気性を一切損なわず、かつ環境にも優しいという、私たちの生活に密着した日用品における画期的な製造技術です。

【課題】インク印刷による「目詰まり」と通気性の低下

従来の交換お知らせフィルターは、表面に特殊なインクで文字や模様を印刷し、その上に汚れが付着することで文字が目立つようになる仕組みでした。

しかし、インクを塗布した部分は不織布の繊維の隙間が埋まってしまうため、フィルター本来の役割である「通気性」が低下してしまうという欠点がありました。空気が通りにくくなると換気扇の吸い込み能力が落ちてしまいます。

また、インクを使用することは製造コストの増加や、廃棄時の環境負荷にも繋がります。通気性を100%保ちながら、いかにして汚れ具合を視覚的にユーザーに伝えるかが大きな課題でした。

【解決策】エンボス加工の「溝の幅」だけで文字を表現する

東洋アルミエコープロダクツは、インクを一切使わず、フィルターに施すエンボス加工(凹凸)の「溝の幅」を変えるだけで文字を浮かび上がらせるというスマートな解決策を発明しました。

文字が形成されたフィルター構造体の平面図
図1:フィルター構造体の平面図。格子状の溝の間に「とりかえてネ」の文字やハートマークが配置されています。これらはすべてインクではなく「凹凸」で描かれています。(出典:特許第7022171号)

1. インクを使わず「溝の幅」を変化させて模様を描く

本技術では、フィルターの表面に格子状の溝(エンボス加工)を熱圧着などで形成します。

このとき、文字や図形にしたい部分(例えば「と」の字のライン)の溝の幅を、周囲の通常の溝よりも意図的に「広く」または「狭く」設定します。インクを塗るのではなく、凹凸のパターンの違いだけで文字の輪郭を描き出すのです。

2. 汚れの「溜まり方の差」を利用して文字を浮かび上がらせる

換気扇を使用し続けると、フィルターにホコリや油汚れが付着します。このとき、凹凸の形状によって「汚れの付きやすさ」に差が生じます。

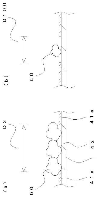
汚れの付着状態を示す断面図
図2:溝の幅による汚れ(50)の溜まり方の違いを示す断面図。溝が狭い部分(a)は汚れが平坦部を跨いで溜まりやすく、溝が広い部分(b)は溝の中に汚れが落ち込むため、見た目の色に差が生じます。(出典:特許第7022171号)

図2に示されるように、溝の幅が広い部分(図2a)と狭い部分(図2b)とでは、ホコリ(50)が引っかかる面積や落ち込む深さが異なります。この「汚れの付き方のコントラスト」が徐々に大きくなることで、ある時期に達すると隠れていた「とりかえてネ」の文字がくっきりと浮かび上がってくる仕組みです。

💡 技術のポイント:インクという「足し算」から、形状という「引き算」への転換

この特許の最も秀逸な点は、インクを塗るという「足し算」ではなく、素材のプレス形状を変えるだけという「引き算(素材そのまま)」で目的を達成した点にあります。これにより、フィルター全面で空気を通すことができ、換気扇の性能をフルに発揮させたまま、確実な交換タイミングをユーザーに伝えることができます。

【効果】換気性能を落とさず、家事の負担を軽減する

このインクレスのフィルター構造体により、私たちの生活に以下のような効果がもたらされます。

  • 通気性の完全な維持: インクによる目詰まりがないため、換気効率を落とさずに油汚れやホコリをしっかりキャッチします。
  • 一目でわかる確実な交換タイミング: 汚れの蓄積に比例して文字が浮かび上がるため、誰でも直感的に取り換え時期を把握でき、換気扇内部を汚す前に交換できます。
  • 環境負荷とコストの低減: インクや印刷工程が不要になることで製造コストが下がり、リサイクルや廃棄時の環境負荷も削減されます。

家庭の身近な悩みに対して、素材の特性と物理的な形状だけでシンプルかつ完璧な回答を出した本技術は、大阪発明協会会長賞の受賞にふさわしい、優れた日用品イノベーションです。

【補足】この記事で登場した技術キーワード

不織布
繊維を織ったり編んだりせず、熱、化学作用、あるいは機械的処理によって結合させてシート状にした材料です。三次元的な多孔質構造を持つため、空気や液体を効率よく通しながら、その内部に微粒子を物理的に捕捉するフィルター媒体として非常に優れた特性を有します。
エンボス加工
素材の表面に熱や圧力を加えることで、特定の意匠や凹凸模様を浮き出させる塑性加工技術です。外観の装飾性を高めるだけでなく、表面積を変化させて吸着効率を上げたり、流体の流れを制御したり、あるいは物質(ホコリや油など)の付着・堆積しやすさを局所的にコントロールする目的でも利用されます。
通気性
材料の隙間を空気が通り抜ける際の容易さを表す物理的な性質です。フィルターにおいては、素材の空隙率(隙間の割合)や厚みが主要な決定因子となります。通気抵抗が低いほど、空調機や換気扇などの駆動源に過度な負荷をかけることなく、効率的な空気の循環や交換が可能になります。

特許情報まとめ

発明の名称 フィルター構造体
特許番号 特許第7022171号
特許権者 東洋アルミエコープロダクツ株式会社
発明者 足立 将司、山岸 拓人
出願日 令和2年5月15日 (2020.5.15)
※原出願日:平成28年3月28日 (2016.3.28)
登録日 令和4年2月8日 (2022.2.8)
受賞歴 令和7年度 近畿地方発明表彰 大阪発明協会会長賞
関連リンク Google Patentsで全文を読む
J-PlatPatで公報・経過情報を確認
[広告スペース]