Patent Memo
技術の「すごい」を特許公報・意匠公報から読み解く解説メモ
「製造・生産技術」の解説記事
全件表示に戻る
製造・生産技術
食品・ライフスタイル
2026/04/04
【製造・生産技術】宙吊り時の苦痛を激減!藤井電工の「新型ハーネス安全帯」
兵庫県発明協会会長賞
製造・生産技術
素材・化学
2026/04/03
【製造・生産技術】めっきの層構造を「角度」で暴く!リガクの「高精度蛍光X線分析」
大阪発明協会会長賞
食品・ライフスタイル
製造・生産技術
2026/03/27
【食品・ライフスタイル】パンくずが出ない!龍泉刃物の「ダマスカスパン切りナイフ」
福井県発明協会会長賞
食品・ライフスタイル
製造・生産技術
2026/03/26
【食品・ライフスタイル】無縫製で斜めポケットを実現!島精機製作所の「ポケット付き編地」
和歌山県知事賞
食品・ライフスタイル
製造・生産技術
2026/03/25
【食品・ライフスタイル】もう靴下は脱げない!岡本の「ハチの巣型滑り止め」
奈良県知事賞
製造・生産技術
IT・通信・ソフト
2026/03/22
【製造・生産技術】重ね刷りのズレを画面上で直す!SCREENの「画像位置調整技術」
日本弁理士会会長賞
食品・ライフスタイル
製造・生産技術
2026/03/20
【食品・ライフスタイル】足裏から身体を支える!ニッティドの「エアークッション編み技術」
発明協会会長賞
製造・生産技術
自動車・輸送・物流
2026/03/17
【製造・生産技術】アルミ電線の腐食を防ぐ!古河電気工業・古河ASの「密閉型防食端子」
近畿経済産業局長賞
素材・化学
製造・生産技術
2026/03/16
【素材・化学】製紙工程の汚れを劇的改善!片山化学工業研究所の「ピッチコントロール剤」
中小企業庁長官賞
製造・生産技術
機械・ロボット
2026/03/15
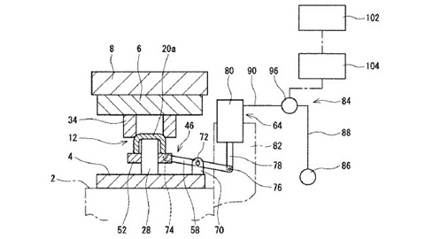
【製造・生産技術】多工程の絞り加工を最適化!日伸工業の「独立制御プレス装置」
中小企業庁長官賞
製造・生産技術
自動車・輸送・物流
2026/03/12
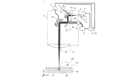
【製造・生産技術】溶接の深さをリアルタイムに測る!パナソニックの「OCTレーザ加工技術」
文部科学大臣賞
機械・ロボット
製造・生産技術
2026/03/02
【機械・ロボット】少ない空気で大風量!トリーエンジニアリングの「超省エネ・エアノズル」
発明賞
素材・化学
製造・生産技術
2026/02/20
【素材・化学】化学工場の心臓部を守る!旭化成の「電極長寿命化」技術
恩賜発明賞
製造・生産技術
機械・ロボット
2026/02/17
【製造・生産技術】絡まる麺をどう捌く?イシダの「空飛ぶ組合せ計量」ロボット
経済産業大臣賞