Patent Memo
技術の「すごい」を特許公報・意匠公報から読み解く解説メモ

【製造・生産技術】重ね刷りのズレを画面上で直す!SCREENの「画像位置調整技術」

製造・生産技術 IT・通信・ソフト 作成日: 2026.03.22
[広告スペース]

今回ご紹介するのは、令和7年度 近畿地方発明表彰において「日本弁理士会会長賞」を受賞した、大日本スクリーン製造株式会社(現 株式会社SCREENホールディングス)の「画像記録装置、および画像記録装置における記録予定位置調整方法(特許第5075737号)」です。

ダイレクトメール(DM)やパッケージなど、あらかじめ絵柄が印刷された用紙に対して、後から宛名やバーコード、追加の文字をインクジェットで上書きする「重ね刷り(後刷り)」。この時、下の絵柄と上の文字の位置をピッタリ合わせるのは至難の業でした。

本特許は、用紙を機械的に動かして位置を合わせるという従来の常識を覆し、「スキャナでの読み取り」と「ディスプレイ上でのドラッグ操作」というソフトウェアのアプローチでこの問題を鮮やかに解決した、FA(ファクトリーオートメーション)業界における画期的な技術です。

【課題】用紙をミリ単位で動かす「物理的な位置合わせ」の限界

すでに印刷済みの用紙を機械に通して追加の印刷を行う場合、用紙が機械に吸い込まれる際に生じるわずかな斜めズレ(斜行)や位置ズレは避けられません。

従来、これを補正するためには「レジスト機構(アライメント機構)」と呼ばれる複雑な機械装置が必要でした。これは、センサーで用紙の端を検知し、ローラーやガイドを物理的に動かして用紙の姿勢や位置をミリ単位で強制的に直す仕組みです。

しかし、この物理的な機構は装置が非常に大型になり、コストも跳ね上がります。さらに、試し刷りをしては定規でズレを測り、機械の設定を微調整するという、オペレータの勘と経験に頼る面倒なアナログ作業が必須となっていました。

【解決策】ハードウェアではなく、画面上の「バーチャル調整」で解決

SCREENは、用紙を物理的に動かすことを諦め、代わりに「これから印刷するデジタルデータ」の方をずらしてしまうというスマートな解決策を発明しました。

ディスプレイ上での合成画像の表示遷移
図1:位置合わせの画面イメージ。スキャナで読み取った下地の画像(星マーク)と、これから印刷する画像データ(ABC)をディスプレイ上で合成し、オペレータが画面を見ながら位置を調整します。(出典:特許第5075737号)

1. スキャナで読み取り、プレビュー画面で直感的に調整

図1に示されるように、この装置にはインクジェットヘッドの手前にスキャナが搭載されています。

まず、位置合わせ用に1枚だけ用紙を流し、スキャナで下地(先記録画像)を読み取ります。装置は読み取った画像の上に、これから印刷するデータ(追加記録用データ)を重ね合わせて、ディスプレイに表示します。オペレータは、この「完成予想図(合成画像)」を画面で見ながら、マウスなどの操作で追加画像の位置をドラッグして、ピッタリ合う場所に直感的に微調整するだけで設定が完了します。

2. ノズルの切り替えで「物理的なズレ」を電子的に吸収

画面上で調整した「ズレ量(オフセット量)」は、機械の動きではなく、インクジェットヘッドの「制御」に反映されます。

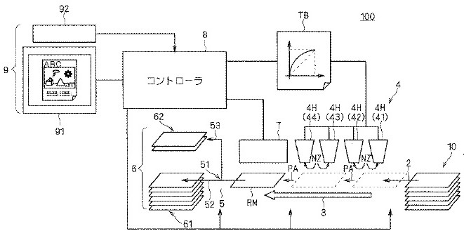
画像記録装置の全体構成ブロック図
図2:装置の全体構成図。スキャナ(7)の読み取り結果とディスプレイ(91)での調整指示を受け、コントローラ(8)がインクジェットヘッド(4H)の吐出を精密に制御します。(出典:特許第5075737号)

例えば、横方向にズレていた場合は「使用するノズルの位置」をずらし、縦方向にズレていた場合は「インクを噴射するタイミング」を遅らせたり早めたりします。用紙は少しズレたまま搬送されても、インクを飛ばす位置とタイミングを電子的に補正するため、結果として完璧な重ね刷りが実現するのです。

💡 技術のポイント:機械的アプローチからソフトウェア的アプローチへの転換

この特許の最も秀逸な点は、「ハードウェア(物理的な位置合わせ機構)」で解決しようとしていた問題を、「ソフトウェア(画像合成とインク吐出制御)」で解決したパラダイムシフトにあります。これにより、大きく重く高価だった印刷機を、よりコンパクトで安価に、そして誰もが簡単に操作できるように進化させました。

【効果】印刷現場のムダをなくし、装置の小型化を実現

この画像位置調整技術により、印刷現場や装置メーカーに以下のような大きな効果がもたらされます。

  • 装置の大幅な小型化と低コスト化: 用紙を物理的に動かす複雑なアライメント機構が不要になったため、装置全体のサイズダウンと部品コストの削減が可能になりました。
  • オペレータの負担を劇的に軽減: 何度も試し刷りをして定規で測るような職人技が不要になり、画面上のプレビューを見ながら直感的に素早く位置合わせが完了します。
  • テスト印刷のロス削減: 画面上で印刷結果を確認できるため、調整のために無駄になる用紙やインクの量、そして準備にかかる時間を大幅に削減できます。

デジタル技術とソフトウェアの力を使って、製造装置の物理的な制約を取り払ったこの発明は、印刷業界のみならず多くの産業用機械に影響を与える優れた設計思想を持っています。日本弁理士会会長賞の受賞も納得の、現場の課題解決に直結する素晴らしい特許技術です。

【補足】この記事で登場した技術キーワード

インクジェット方式
液体状のインクを微細な液滴としてノズルから直接噴射し、記録媒体上に画像を形成する非接触型の印刷技術です。デジタルデータに基づいて一滴ごとの吐出を制御するため、一点ごとに内容が異なる可変情報の記録に優れ、オンデマンド印刷の中核を担っています。
レジストレーション(見当合わせ)
複数の画像や色を重ね合わせる際、それぞれの位置関係を精密に一致させる工程です。物理的な搬送ガイドによって紙の位置を直す手法に加え、画像処理技術を用いて下地となる対象物の位置を検知し、デジタル描画データ側の座標を動的に書き換える補正手法の導入が進んでいます。
画像合成プレビュー
物理的な出力を行う前に、計算機上で複数の画像データを重ね合わせ、完成予想の状態をディスプレイ等に視覚化する技術です。実際の印刷結果をシミュレーションすることで、オペレータによる直感的な微調整や誤差の事前確認が可能となり、試作ロスの削減や作業時間の短縮に大きく貢献します。

特許情報まとめ

発明の名称 画像記録装置、および画像記録装置における記録予定位置調整方法
特許番号 特許第5075737号
特許権者 株式会社SCREENホールディングス(登録時:大日本スクリーン製造株式会社)
発明者 武田 和也、福井 一希、清原 理
出願日 平成20年5月27日 (2008.5.27)
登録日 平成24年8月31日 (2012.8.31)
受賞歴 令和7年度 近畿地方発明表彰 日本弁理士会会長賞
※併せて「実施功績賞」を受賞
関連リンク Google Patentsで全文を読む
J-PlatPatで公報・経過情報を確認
[広告スペース]