Patent Memo
技術の「すごい」を特許公報・意匠公報から読み解く解説メモ
「食品・ライフスタイル」の解説記事
全件表示に戻る
製造・生産技術
食品・ライフスタイル
2026/04/04
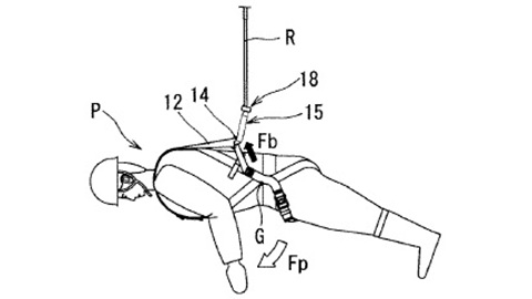
【製造・生産技術】宙吊り時の苦痛を激減!藤井電工の「新型ハーネス安全帯」
兵庫県発明協会会長賞
食品・ライフスタイル
素材・化学
2026/04/02
【食品・ライフスタイル】汚れると文字が浮かび上がる!東洋アルミの「交換お知らせフィルター」
大阪発明協会会長賞
食品・ライフスタイル
機械・ロボット
2026/04/01
【食品・ライフスタイル】ホウレンソウ出荷を自動化!クボタの「絡まないブレード技術」
大阪発明協会会長賞
食品・ライフスタイル
製造・生産技術
2026/03/27
【食品・ライフスタイル】パンくずが出ない!龍泉刃物の「ダマスカスパン切りナイフ」
福井県発明協会会長賞
食品・ライフスタイル
製造・生産技術
2026/03/26
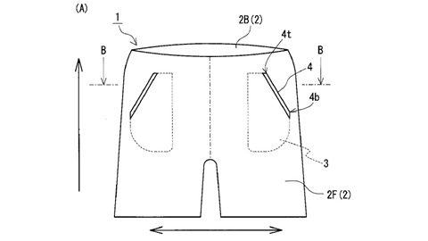
【食品・ライフスタイル】無縫製で斜めポケットを実現!島精機製作所の「ポケット付き編地」
和歌山県知事賞
食品・ライフスタイル
製造・生産技術
2026/03/25
【食品・ライフスタイル】もう靴下は脱げない!岡本の「ハチの巣型滑り止め」
奈良県知事賞
素材・化学
食品・ライフスタイル
2026/03/24
【素材・化学】レトルト後も透明で高バリア!ユニチカの「ガスバリア性積層体」
大阪府知事賞
IT・通信・ソフト
食品・ライフスタイル
2026/03/23
【IT・通信・ソフト】手をかざす位置が「光」でわかる!オプテックスの非接触スイッチ
滋賀県知事賞
食品・ライフスタイル
製造・生産技術
2026/03/20
【食品・ライフスタイル】足裏から身体を支える!ニッティドの「エアークッション編み技術」
発明協会会長賞
食品・ライフスタイル
医療・バイオ
2026/03/18
【食品・ライフスタイル】色移りしない!紀州技研工業の「錠剤用インクジェットインク」
近畿経済産業局長賞
食品・ライフスタイル
素材・化学
2026/03/08
【食品・ライフスタイル】チーズの「華やかな香り」を科学する!明治の乳酸菌ブレンド技術
発明賞
食品・ライフスタイル
素材・化学
2026/03/05
【食品・ライフスタイル】植物由来で軽くて強い!アシックスの「CNF配合シューズ用緩衝材」
発明賞
IT・通信・ソフト
食品・ライフスタイル
2026/03/03
【IT・通信・ソフト】空間の響きを自在に操る!ヤマハの「音場支援システム」
発明賞
IT・通信・ソフト
食品・ライフスタイル
2026/03/01
【IT・通信・ソフト】体操競技の「公平な採点」を実現!富士通の「AI採点システム」
発明賞
環境・エネルギー
食品・ライフスタイル
2026/02/27
【環境・エネルギー】おむつから新品のパルプを再生!ユニ・チャームの「高分子吸水材の溶解技術」
朝日新聞社賞
素材・化学
食品・ライフスタイル
2026/02/25
【素材・化学】歪みを防いで美しい外装へ!アイジー工業の「建築用金属外装材」
日本商工会議所会頭賞
IT・通信・ソフト
食品・ライフスタイル
2026/02/24
【IT・通信・ソフト】どこでも立体音響空間に!ソニーの「分離可能なワイヤレススピーカー」
日本経済団体連合会会長賞