Patent Memo
技術の「すごい」を特許公報・意匠公報から読み解く解説メモ

【食品・ライフスタイル】パンくずが出ない!龍泉刃物の「ダマスカスパン切りナイフ」

食品・ライフスタイル 製造・生産技術 作成日: 2026.03.27
[広告スペース]

今回ご紹介するのは、令和7年度 近畿地方発明表彰において「福井県発明協会会長賞」を受賞した、株式会社龍泉刃物の「パン切りナイフ(特許第6999182号)」です。

焼きたての柔らかい食パンや、外側が硬いフランスパンを切る際、パンが潰れてしまったり、テーブルの上がパンくずだらけになってしまったりした経験はないでしょうか。

本特許は、700年の歴史を持つ「越前打刃物」の職人技と現代の設計技術を掛け合わせ、高級なダマスカス鋼(積層鋼)に特殊な「片刃」の波刃加工を施すことで、パンくずを出さずにスパッと切れる究極の切れ味と、息を呑むような美しさを両立させた至高の逸品です。

【課題】「波刃」と「ダマスカス鋼の美しさ」は両立しにくい

パンをスムーズに切るためには、刃先がギザギザになった「波刃」が不可欠です。しかし、一般的な波刃のナイフは両側からV字に削られている(両刃)ため、パンを切る際に摩擦抵抗が大きくなり、切断面が荒れて大量のパンくずが出てしまうという欠点がありました。

一方、高級包丁には、硬い鋼と柔らかい鋼を何十層にも重ね合わせた「ダマスカス鋼(積層材)」がよく用いられます。ダマスカス鋼は削り出す角度によって美しい木目のような波紋が浮かび上がりますが、これを複雑な凹凸を持つ「波刃」に適用しようとすると、削る角度が一定にならないため模様が不自然に乱れてしまい、機能性と美しさを高い次元で両立させることが極めて困難でした。

【解決策】波刃の凹凸にシンクロする「多段の片刃構造」

龍泉刃物は、あえて両刃ではなく「片刃」を採用し、さらに刃の削り出し角度をコンマ数ミリ単位で緻密にコントロールすることで、この難題を芸術的なレベルで解決しました。

ダマスカス鋼の波紋と波刃が融合したナイフ側面図
図1:刃の側面の拡大図。刃先(下部)の波状の凹凸に合わせて、ダマスカス鋼の積層模様(130)が等高線のように美しくシンクロして浮かび上がっています。(出典:特許第6999182号)

1. 模様と機能が一致するデザイン

図1に示されるように、刃先にはパンに食い込むための凹部(131)と凸部(132)が連続して設けられています。

本特許のナイフは、芯材を複数の側材で挟み込んだ積層鋼を使用し、特定の角度で削り出すことで、この波刃のギザギザの形にピッタリと沿うように、積層模様が波状(130)に美しく露出するように計算されて作られています。これにより、ダマスカス鋼特有の高級感を損なうことなく波刃を形成しています。

2. パンくずを出さない「非対称の多段刃付け」

そして、究極の切れ味の秘密はその「断面」にあります。

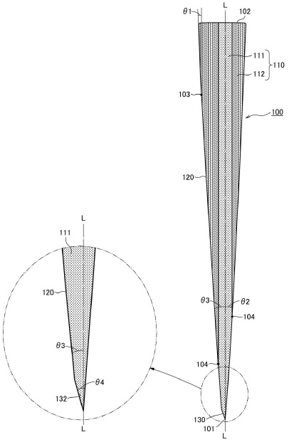
片刃の多段刃付けを示す断面図
図2:刃の断面図。左側の面(103)はほぼ平らですが、右側の面(104)は刃先に向かって角度が3段階(θ2, θ3, θ4)に変化する特殊な削り方が施されています。(出典:特許第6999182号)

図2を見ると、刃の中心線(L)に対して、片面はごくわずかな角度(θ1)でほぼ平らになっています。一方、模様が見える側の面は、途中で角度が変わる「多段刃付け(θ2→θ3→θ4)」が施された非対称な「片刃構造」になっています。

片面を平らにすることで、切ったパンの断面に対する摩擦抵抗が極限まで減り、ノコギリのように無理に引きちぎることなく、日本刀のように「スッ」と滑らかに切断できるようになります。

💡 技術のポイント:機能美の極致

この特許の最も秀逸な点は、「パンくずを出さずに切るための片刃・多段刃付け」という極めて高度な『機能的要請』が、そのままダマスカス鋼の『美しい波紋模様』を浮かび上がらせる結果に直結している点です。技術的な課題解決がそのまま圧倒的な意匠性(デザイン)へと昇華されており、まさに日本の伝統工芸と特許技術が見事に融合した傑作と言えます。

【効果】パンの美味しさを逃がさない、一生モノの道具

このパン切りナイフにより、私たちの食卓に以下のような素晴らしい効果がもたらされます。

  • パンくずがほとんど出ない: 摩擦の少ない片刃構造により、切断面が非常に滑らかになり、テーブルを汚すパンくずの発生を劇的に抑えます。
  • パン本来の美味しさをキープ: 断面の組織を潰さずに切れるため、水分の蒸発を防ぎ、柔らかい食パンのフワフワ感やフランスパンの風味を損ないません。
  • 圧倒的な所有感と美しさ: 波刃と完全にシンクロしたダマスカスの波紋模様が、キッチンツールとしての他に類を見ない高級感と所有する喜びを与えてくれます。

毎日使う身近な道具だからこそ、妥協を許さない職人の情熱と最新の研磨技術が注ぎ込まれた本特許は、福井県発明協会会長賞の受賞にふさわしい、日本が世界に誇るモノづくりの結晶です。

【補足】この記事で登場した技術キーワード

ダマスカス鋼(積層材)
性質の異なる複数種の金属を幾重にも重ね合わせ、鍛造や圧延を繰り返すことで作られる金属材料の総称です。単なる装飾的な木目模様だけでなく、硬く鋭い「鋼」を靭性(粘り強さ)のある「軟材」で挟み込むことで、高い硬度を保ちながらも「折れにくく欠けにくい」という相反する物理的特性を両立させる、伝統的な素材工学に基づいた知恵と言えます。
片刃(かたば)
刃の一方の面のみを斜めに削り出し、もう一方の面をほぼ平らに仕上げる刃物形状です。左右対称に削る「両刃」と比較して、食材を押し広げる力が片側にしか働かないため、切断面との摩擦抵抗を極限まで低減できる特性があります。これにより、特に柔らかい食材を潰さずに、垂直かつ精密に切り分けることが可能になります。
波刃(セレーション)
刃先に連続した凹凸を設けた形状のことです。平滑な刃(直刃)に比べ、凸部に圧力が集中することで、硬い表面や滑りやすい外皮を容易に貫通・把持(ホールド)できるメリットがあります。ノコギリのように「引き切り」を行う際、対象物の組織を効率よく捉えて切断のきっかけを作る、機能的な幾何学形状です。

特許情報まとめ

発明の名称 パン切りナイフ
特許番号 特許第6999182号
特許権者 株式会社龍泉刃物
発明者 増谷 浩司
出願日 平成31年4月9日 (2019.4.9)
登録日 令和3年12月24日 (2021.12.24)
受賞歴 令和7年度 近畿地方発明表彰 福井県発明協会会長賞
関連リンク Google Patentsで全文を読む
J-PlatPatで公報・経過情報を確認
[広告スペース]