Patent Memo
技術の「すごい」を特許公報・意匠公報から読み解く解説メモ

【機械・ロボット】薄型HDDを支える!日本電産の「モータシャフト固定技術」

機械・ロボット 電子・半導体 作成日: 2026.03.28
[広告スペース]

今回ご紹介するのは、令和7年度 近畿地方発明表彰において「京都発明協会会長賞」を受賞した、日本電産株式会社(現 ニデック株式会社)の「スピンドルモータ、ディスク駆動装置およびスピンドルモータの製造方法(特許第5838734号)」です。

パソコンやサーバーに使われるハードディスクドライブ(HDD)。その内部でディスクを超高速で回転させる「スピンドルモータ」には、極めて高い精度と耐久性が求められると同時に、近年のモバイル機器向けに「さらなる薄型化」が強く要求されています。

本特許は、モータの土台(ベース)に中心軸(シャフト)を固定する際、「圧入による土台の歪み」と「接着剤のはみ出し」という相反する課題を、極めてシンプルな形状の工夫で鮮やかに解決した精密製造技術です。

【課題】「強く挿す」と歪む、「接着剤」ははみ出す

スピンドルモータの中心には、回転の軸となる「静止シャフト」があり、これをモータの土台である「ベース部材」の穴(保持孔)に固定する必要があります。

従来、この固定にはシャフトを穴に強く押し込む「圧入」が用いられてきました。しかし、HDDの薄型化に伴ってベース部材自体が薄くなると、抜けにくくするために強く圧入した際、その力でベース部材が変形(歪み)してしまうという深刻な問題が発生しました。ベースが歪むと、モータの回転精度が落ちてしまいます。

そこで、圧入する力を弱めて「接着剤」を併用する方法が考えられましたが、今度は別の問題が起きます。隙間が狭すぎると接着剤が奥まで浸透せず強度が不足し、逆に多めに塗ると接着剤が穴からはみ出してしまい、他の精密部品に干渉したりパーティクル(ゴミ)の原因になったりしてしまいます。

【解決策】「テーパ形状」と「環状面取部」の合わせ技

日本電産は、ベース部材の穴(保持孔)の断面形状をミクロン単位で工夫することで、「毛細管現象」をコントロールし、この難題を解決しました。

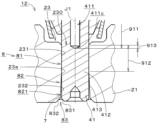
スピンドルモータの縦断面図
図1:スピンドルモータの断面図。中心の静止シャフト(41)が、下部のベース部材(21)に固定されてモータ全体を支えています。(出典:特許第5838734号)

1. 毛細管現象を誘発する「テーパ状の隙間」

本技術では、ベース部材の保持孔を単なる真っ直ぐな円柱ではなく、特殊な形状にしています。孔の上半分はシャフトにピタッと密着する真っ直ぐな形状ですが、下半分は下方(出口側)に向かってごくわずかに広がる「テーパ形状」になっています。

シャフトを圧入した後、下から接着剤を塗布すると、このわずかに広がる隙間が引き金となって「毛細管現象」が起き、接着剤がスッと孔の奥深くまで吸い込まれていきます。これにより、圧入の力を弱めても、接着剤が広範囲に浸透して強固な固定力を発揮します。

2. 接着剤の受け皿となる「環状面取部」

さらに重要なのが、保持孔の出口(下面開口)のエッジ部分です。

シャフト下端と保持孔の拡大断面図
図2:保持孔下部の拡大断面図。孔の下部(82)がテーパ状に広がり、出口のエッジには「環状面取部(83)」が設けられています。接着剤(7)が面取部の内側に綺麗に収まっています。(出典:特許第5838734号)

図2に示されるように、孔の出口の角を全周にわたって削り落とした「環状面取部(83)」が設けられています。シャフトの下端から塗布された接着剤は、毛細管現象で上へ吸い上げられると同時に、余った接着剤がこの「環状面取部」の内側にスライムのように留まり(フィレットを形成し)、外に垂れたりはみ出したりすることがありません。

💡 技術のポイント:引き算の加工で生み出す究極のコントロール

この特許の最も秀逸な点は、部品を追加するのではなく、ベース部材の孔の形を「テーパにする」「角を落とす(面取りする)」という引き算の加工だけで、接着剤の流動を完全にコントロールした点です。接着剤の「吸い上げ」と「液溜まり」を物理現象(毛細管現象と表面張力)に任せることで、製造ラインでの歩留まりを飛躍的に向上させました。

【効果】極薄モータの量産化と、デジタル社会のデータ保存を支える

このモータシャフト固定技術により、精密モータの製造現場に以下のような大きな効果がもたらされます。

  • ベース部材の変形防止と固定強度の両立: 圧入力を下げても接着剤が奥まで確実に浸透するため、ベースを薄くしても歪まず、かつ強い衝撃に耐える固定強度を実現しました。
  • 接着剤はみ出しによる品質不良の撲滅: 環状面取部が接着剤の「ダム」として機能するため、周囲への液垂れやゴミの発生を完全に防ぎ、モータの信頼性を高めます。
  • モバイル機器のさらなる薄型化への貢献: モータの土台を極限まで薄くできるようになったことで、ノートPCや外付けドライブなど、HDD搭載機器の薄型化・軽量化を根本から支えています。

私たちが日々扱う膨大なデジタルデータを安定して読み書きできるのは、こうしたミクロン単位の「モノづくりの工夫」があるからです。世界シェアトップを走るモータメーカーの底力を示す本特許は、京都発明協会会長賞の受賞にふさわしい素晴らしい発明です。

【補足】この記事で登場した技術キーワード

スピンドルモータ
高い回転精度で回転軸を高速回転させることに特化したモータの総称です。HDDのディスク駆動や光学ドライブなど、ナノメートル単位の制御が求められる精密機器の動力源として広く採用されています。
毛細管現象
液体の表面張力と壁面への付着力によって、細い管や狭い隙間を液体が重力に関わらず移動する物理現象です。隙間が狭いほど、また液体の表面張力が強いほど、液体を奥まで引き込む力が強く働きます。
面取り
部品の角(エッジ)を斜めや丸く削り落とす加工です。単なる安全性の確保だけでなく、流体制御においては液体の表面張力を利用して、液溜まり(フィレット)を形成させたり、漏れを防止したりするための「境界」として機能します。

特許情報まとめ

発明の名称 スピンドルモータ、ディスク駆動装置およびスピンドルモータの製造方法
特許番号 特許第5838734号
特許権者 日本電産株式会社(現 ニデック株式会社)
発明者 杉 孝時、米田 朋広、小林 裕
出願日 平成23年11月2日 (2011.11.2)
登録日 平成27年11月20日 (2015.11.20)
受賞歴 令和7年度 近畿地方発明表彰 京都発明協会会長賞
関連リンク Google Patentsで全文を読む
J-PlatPatで公報・経過情報を確認
[広告スペース]