Patent Memo
技術の「すごい」を特許公報・意匠公報から読み解く解説メモ

【電子・半導体】スマホの通信をクリアに!村田製作所の「弾性波装置」ノイズ抑制技術

電子・半導体 IT・通信・ソフト 作成日: 2026.03.29
[広告スペース]

今回ご紹介するのは、令和7年度 近畿地方発明表彰において「京都発明協会会長賞」を受賞した、株式会社村田製作所の「弾性波装置(特許第6798543号)」です。

スマートフォンが様々な周波数の電波を混線せずに送受信できるのは、内部に「特定の周波数だけを通すフィルター(弾性波装置)」が搭載されているからです。

本特許は、このフィルターが温度変化の影響を受けないように保護膜を被せた際に発生してしまう「不要なノイズ(スプリアス)」を、電極の材質と形状をミクロン単位でコントロールすることで見事に打ち消した、世界トップシェアを誇る電子部品メーカーならではの極めて高度な設計技術です。

【課題】「温度特性の改善」が引き起こす新たなノイズ

弾性波装置(表面弾性波フィルター:SAWフィルター)は、圧電基板の上に櫛の歯状の電極(IDT電極)を配置し、電気信号を物理的な「波(音響波)」に変換して特定の周波数のみを取り出す部品です。

この装置は温度変化によって周波数がズレてしまうという弱点があるため、通常は電極の上から「酸化ケイ素(SiO2)」の膜を被せて温度特性を改善させます。

しかし、酸化ケイ素の膜を厚く被せると、今度は「レイリー波」と呼ばれるメインの波の他に、「SH波」などの不要な波(高次モードのスプリアス)が発生しやすくなります。この不要な波がノイズとなり、通信品質(フィルター特性)を大きく劣化させてしまうという、あちらを立てればこちらが立たずのジレンマがありました。

【解決策】電極の「厚み」と「幅」の黄金比でノイズを封じ込める

村田製作所は、不要な波を物理的に消し去るために、電極に使用する「金属の重さ」と「形状(デューティ比)」を緻密に計算し、波の位相をコントロールするという解決策を導き出しました。

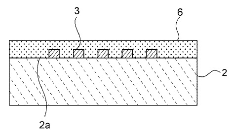
弾性波装置の正面断面図
図1:弾性波装置の断面図。圧電基板(2)の上に櫛歯状のIDT電極(3)が配置され、全体を酸化ケイ素などの誘電体膜(6)が覆っています。(出典:特許第6798543号)

1. 高密度な金属と最適な膜厚の組み合わせ

まず、IDT電極(3)の材料として、アルミニウムのような軽い金属ではなく、プラチナ(Pt)、タングステン(W)、タンタル(Ta)などの非常に「高密度で重い金属」を主成分として採用します。

そして、その電極の厚みを、目的とする波長(λ)に対して特定の割合(例えばPtなら0.02λ〜0.08λ)になるように厳密に設定します。重い金属を特定の厚さで配置することで、メインの波(レイリー波)と不要なノイズ波(高次モード)の「音速」のバランスをコントロールする土台を作ります。

2. 「デューティ比」による位相のコントロール

さらに決定的なのが、電極の「幅」の割合(デューティ比)の最適化です。

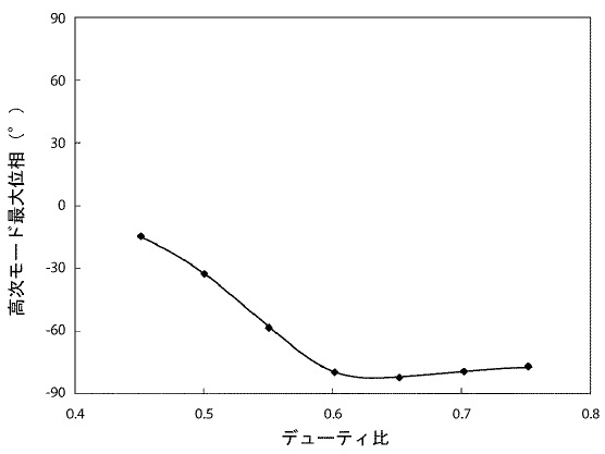
デューティ比と高次モード最大位相の関係を示すグラフ
図2:電極のデューティ比と高次モード最大位相の関係。デューティ比を0.45〜0.75の範囲に調整することで、ノイズの原因となる位相を適切に抑え込めることがわかります。(出典:特許第6798543号)

図2に示されるように、電極の幅と隙間の割合(デューティ比)を0.45〜0.75という特定の範囲に設定します。これに圧電基板の切り出し角度(オイラー角)の条件を掛け合わせることで、不要な波の「位相(波のタイミング)」が相殺され、ノイズとなるスプリアスを見事に抑圧(小さく)することに成功しました。

💡 技術のポイント:相反する要求を「形状の最適解」で突破

この特許の最も秀逸な点は、「温度特性を良くするための膜」と「ノイズを減らすための電極形状」という、物理的に干渉し合う要素の完璧なバランス(最適解)を数式とデータで導き出した点です。回路などの外部処理でノイズをごまかすのではなく、デバイスそのものの素材と形状だけでピュアな信号を作り出す、まさに電子部品設計の極致と言えます。

【効果】5G時代の高速・大容量通信を根底から支える

この弾性波装置の技術により、通信デバイス市場に以下のような大きな効果がもたらされます。

  • クリアで安定した通信品質の確保: 温度変化が激しい環境(真夏の車内や寒冷地など)でも周波数がズレず、かつノイズのない綺麗な信号を抽出できます。
  • スマートフォンのさらなる高性能化: 5Gやそれ以降の通信規格では、より多くの周波数を同時に扱うため、混線を防ぐ高性能なフィルターが不可欠であり、その要求に完全に応えます。
  • デバイスの小型化に貢献: フィルター自体が温度補償とノイズ抑制の機能を兼ね備えているため、余分な回路や部品を減らし、スマホの小型化・軽量化に直結します。

目に見えないミクロの「波」を完璧に手懐け、私たちの快適なデジタルライフを縁の下で支え続けるこの技術は、京都発明協会会長賞の受賞にふさわしい、日本が世界に誇るエレクトロニクス技術の結晶です。

【補足】この記事で登場した技術キーワード

弾性表面波
固体の表面付近にエネルギーを集中させて伝わる物理的な振動(波)のことです。電圧を加えると歪む「圧電基板」の表面でこの波を発生させることで、電気信号を一時的に機械的な「音の波」へと変換し、その波長に合わせて特定の周波数だけを極めて正確に選別することが可能になります。
スプリアス
無線通信や電子回路において、本来目的としている周波数以外の帯域に発生してしまう「不要な信号(ノイズ)」の総称です。これが存在すると通信の純度が下がり、混線やエラーの原因となるため、デバイスの構造工夫によって、メインの波を邪魔する余計な波(高次モードなど)を物理的に相殺・抑制する設計が重要となります。
デューティ比
周期的に繰り返される構造や信号において、1周期の中に占める「有効な部分」の割合を指します。微細な櫛歯状の電極設計においては、電極の幅とその隙間の合計に対する「電極の幅」の比率を意味します。この比率をミクロン単位で調整することで、波の重なり方(位相)を変化させ、特定のノイズ成分だけを狙って打ち消すための調整弁として機能します。

特許情報まとめ

発明の名称 弾性波装置
特許番号 特許第6798543号
特許権者 株式会社村田製作所
発明者 三村 昌和
出願日 平成30年12月17日 (2018.12.17)
※原出願日:平成28年6月16日 (2016.6.16)
登録日 令和2年11月24日 (2020.11.24)
受賞歴 令和7年度 近畿地方発明表彰 京都発明協会会長賞
関連リンク Google Patentsで全文を読む
J-PlatPatで公報・経過情報を確認
[広告スペース]