Patent Memo
技術の「すごい」を特許公報・意匠公報から読み解く解説メモ

【食品・ライフスタイル】無縫製で斜めポケットを実現!島精機製作所の「ポケット付き編地」

食品・ライフスタイル 製造・生産技術 作成日: 2026.03.26
[広告スペース]

今回ご紹介するのは、令和7年度 近畿地方発明表彰において「和歌山県知事賞」を受賞した、株式会社島精機製作所の「ポケット付き編地、およびポケット付き編地の編成方法(特許第7217600号)」です。

編み機から一着の服がそのままの形で立体的に編み上がる「ホールガーメント(無縫製ニット)」。縫い目がないため着心地が良く、無駄な生地が出ない究極のエコ技術ですが、実はズボンなどによくある「斜めポケット」を作るのは至難の業でした。

本特許は、編み機の上で生地を「立体パズル」のように重ね合わせ、縫い糸を一切使わずに美しい斜めのポケットを編成してしまう、世界をリードする日本の編機メーカーならではの革新的なソフトウェア・ハードウェア制御技術です。

【課題】「無縫製」における斜めポケットの壁

「ホールガーメント」に代表される無縫製ニットは、編み機から一着の服が丸ごと立体的に編み上がる技術です。しかし、編み物は基本的に下から上(ウェール方向)に向かって編んでいくため、縦や横の直線的なラインは作りやすい反面、「斜めのスリット(開口部)」を持つポケットを作るのは非常に困難でした。

斜めポケット(スラントポケット)を作ろうとすると、ポケットの「袋部分」の生地と「身頃(服の本体)」の生地の重なりが極めて複雑になり、編み機上で複数の筒状の生地を同時に編み進めながら干渉せずに繋ぎ合わせる必要が生じます。

従来の方法で無理に作ろうとすると、編み機の針の動きが複雑になりすぎて生産効率が落ちたり、ポケットの開口部が不自然に開いてしまって見栄えが悪くなったりするという大きな課題がありました。

【解決策】編み機の中で「立体パズル」のように生地を重ねて繋ぐ

島精機製作所は、ポケットの「袋部」を独立した筒状の生地として編みながら、絶妙なタイミングと針の移動(目移し)によって身頃と接合していくという、魔法のような編成手法を発明しました。

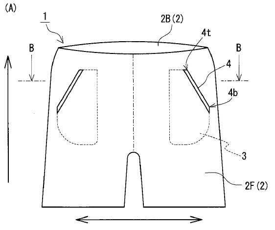
斜めポケットを備えたズボンの全体図
図1:本特許の編成方法で作成されたポケット付き編地(ズボン)のイメージ。縫い目がないホールガーメントでありながら、実用的で美しい斜めのポケット開口部(4)が形成されています。(出典:特許第7217600号)

1. ポケット袋部を「前部」と「後部」に分けて編む

本技術では、ズボンの「前身頃」と「後身頃」を筒状に編み進める途中で、左右の腰の位置にポケットの「袋部」となる別の筒状の編地を発生させます。

この袋部を単なる一枚の布ではなく、「ポケット前部」と「ポケット後部」に分けて編成し、前身頃の裏側に配置されるように編み機の針の上で位置を緻密にコントロールします。

2. 斜めのラインを描く「バインドアバトメント」

最大のポイントは、前身頃に斜めのスリットを作る工程です。

身頃とポケット袋部の接合プロセスを示す図
図2:編み機上での生地の配置と接合のプロセス。外側の身頃(2F, 2B)の間にポケット袋部(3F, 3B)が配置され、前身頃の端とポケット前部の端が斜めに編み繋がれていきます。(出典:特許第7217600号)

図2のように、前身頃の生地の端(斜めになる部分)の編み目と、ポケット前部の編み目を、編み進めるごとに順番に重ねて接合していきます(バインドアバトメント)。これにより、ミシンや縫い糸を一切使わずに、編み目同士の結合だけで丈夫で美しい斜めのポケット開口部が完成します。

💡 技術のポイント:3Dプリンターのような空間認識と制御

この特許の最も秀逸な点は、「2次元の編み機の上で、3次元の重なり(身頃とポケットの袋)を計算し尽くして制御している点」です。複数の生地の筒を編み機の上で同時に成長させながら、最終的に1つの衣服として矛盾なく繋ぎ合わせるという、ハードウェアとソフトウェアの極めて高度な連携が、この美しいシルエットを実現しています。

【効果】デザインの自由度を広げ、サステナブルなモノづくりを加速

このポケット付き編地の技術により、アパレル産業に以下のような大きな効果がもたらされます。

  • 後工程(縫製)の削減と生産性向上: これまで手作業で縫い付けていたポケット付けの工程が不要になり、編み機から下ろした段階でほぼ完成品となるため、生産のリードタイムが大幅に短縮されます。
  • 縫い目のない快適な着心地: ポケット周りにも縫い代(生地の重なりや硬い部分)がないため、肌当たりが良く、快適で美しいシルエットのニットウェアを実現できます。
  • サステナブルな無駄のない製造: 生地の裁断による端切れ(ゴミ)が一切出ないホールガーメントのメリットを、より本格的で実用的なデザインの衣類(ズボンやジャケットなど)にまで拡張できます。

アパレル産業の自動化・効率化と、環境に配慮したサステナブルなモノづくりを推し進める上で、ホールガーメントの可能性を大きく広げた本技術は、和歌山県知事賞の受賞にふさわしい素晴らしい発明です。

【補足】この記事で登場した技術キーワード

ホールガーメント(無縫製編み)
一着の服をパーツに分けず、襟ぐりや袖などの全工程を編み機の中で完成させる立体編成技術です。従来のニットウェアのように裁断した生地を縫い合わせる必要がないため、材料のロス(端切れ)がほとんど出ず、縫い代によるゴロつきのない滑らかな着心地と美しいシルエットを実現できます。
目移し(目移し移動)
編み機の針にかかっているループ(編み目)を、隣接する別の針へ移動させる機械操作のことです。この動作によって編み目の数を増やしたり減らしたり、あるいは複数の独立した編み地を重ね合わせたりすることが可能になり、平面的な布から複雑な3D構造(立体造形)を作り出すための核となる制御技術です。
接合(バインドアバトメント)
編み機上で独立して編まれている複数の編み地の端同士を、編み目のループを重ね合わせることで一体化させる処理です。通常はミシンなどで後から縫い付ける「ポケットの袋」と「衣服の本体」を、編みの工程の中で物理的に連結させることで、縫い糸を使わずに高い強度とフラットな仕上がりを両立させることができます。

特許情報まとめ

発明の名称 ポケット付き編地、およびポケット付き編地の編成方法
特許番号 特許第7217600号
特許権者 株式会社島精機製作所
発明者 上道 和也
出願日 平成30年8月17日 (2018.8.17)
登録日 令和5年1月26日 (2023.1.26)
受賞歴 令和7年度 近畿地方発明表彰 和歌山県知事賞
関連リンク Google Patentsで全文を読む
J-PlatPatで公報・経過情報を確認
[広告スペース]