Patent Memo
技術の「すごい」を特許公報・意匠公報から読み解く解説メモ

【製造・生産技術】宙吊り時の苦痛を激減!藤井電工の「新型ハーネス安全帯」

製造・生産技術 食品・ライフスタイル 作成日: 2026.04.04
[広告スペース]

今回ご紹介するのは、令和7年度 近畿地方発明表彰において「兵庫県発明協会会長賞」を受賞した、藤井電工株式会社の「ハーネス型安全帯(特許第6864355号)」です。

建設現場などの高所作業において命を守る「フルハーネス型安全帯(墜落制止用器具)」は、万が一の墜落時に作業者の体を空中で支える重要な装備です。しかし、落下後の「宙吊り状態」では、ベルトが太ももの付け根などに深く食い込み、激しい痛みや血流障害(ハーネス症候群)を引き起こす危険性がありました。

本特許は、背中から骨盤にかけて「V字状の支持ベルト」を追加することで、落下時の衝撃を分散し、救助を待つ間の姿勢を安定させて身体へのダメージを劇的に軽減する、まさに「命の綱」を進化させる安全設計技術です。

【課題】宙吊り状態での「局所的な圧迫」と「前傾姿勢」

万が一の墜落時、フルハーネス型安全帯は命綱(ランヤード)を通じて作業者の体を空中で支えますが、従来品には大きな課題がありました。落下を阻止した直後、体重の大部分が「両脚の付け根(太ももの腿ベルト)」に集中してしまうのです。

これにより、鼠径部(そけいぶ)の太い血管や神経が強く圧迫され、激しい苦痛を伴うだけでなく、長時間救助を待つ間に血流障害を引き起こす深刻なリスクがありました。

さらに、背中の接続部(D環)の一点だけで吊り下げられるため、体がどうしても「くの字」に前傾しやすく、胸が圧迫されて呼吸が苦しくなったり、姿勢を保つこと自体が困難になったりするという問題もありました。

【解決策】骨盤と臀部を広く包み込む「V字ベルト構造」

藤井電工は、背中の吊り下げ部(D環)から骨盤・臀部(お尻)に向かって伸びる新たな「骨盤支持ベルト」を追加し、衝撃と体重を広範囲に分散させる画期的な構造を発明しました。

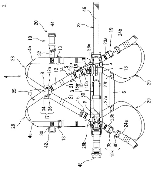
ハーネス型安全帯の背面展開図
図1:ハーネス型安全帯の背面展開図。背中の接続金具(D環:8)から、左右の骨盤や臀部を支えるようにV字状に伸びる「骨盤支持ベルト(12, 14)」が新たに設けられています。(出典:特許第6864355号)

1. D環の引き上げに連動する骨盤サポート

本技術の最大の特徴は、背中の命綱を接続する「D環(8)」に、V字状の骨盤支持ベルトが直接または間接的に連結されている点です(図1)。

墜落して命綱が引っ張られると、D環が上方へ強く引き上げられます。このとき、連動して「骨盤支持ベルト」も上方にピンと張られ、作業者の骨盤や臀部を下からハンモックのように広くすくい上げるように支えます。これにより、太ももの付け根(腿ベルト)だけに集中していた体重が骨盤全体へと分散し、局所的な圧迫を劇的に和らげることができます。

2. 直立に近い姿勢を保ち、呼吸と血流を確保

さらに、この構造は「姿勢の安定」にも大きく貢献します。

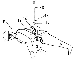
宙吊り状態の側面図
図2:宙吊り状態の側面図。背中(D環)だけでなく、骨盤支持ベルト(14, 15)によって下半身が広く後方から支えられるため、体が「くの字」にならず、直立に近い安定した姿勢が保たれています。(出典:特許第6864355号)

背中の一点だけで吊られる従来品と異なり、骨盤支持ベルトが下半身を後方からホールドするため、体が前傾するのを防ぎます。図2のように、宙吊り状態でも「直立に近い姿勢」を自然に維持できるため、胸部への圧迫が減って呼吸がしやすくなり、手足を動かして血流を促す余裕も生まれるのです。

💡 技術のポイント:力の「流れ」を変えるシンプルな追加構造

この特許の最も秀逸な点は、モーターや複雑なクッション材を足すのではなく、「落下時にD環が上に引っ張られる」という必然的な物理現象を利用し、その力をそのまま「お尻を下から支える力」へと変換するベルトの取り回し(力のベクトル変換)を考案した点にあります。軽量かつシンプルな布ベルトの追加だけで、重大な二次災害のリスクを大幅に低減させた見事な安全設計です。

【効果】高所作業者の命と健康を守り抜く

この新型ハーネスにより、高所作業の現場に以下のような多大な効果がもたらされます。

  • 宙吊り時の激しい苦痛と圧迫を軽減: 衝撃と体重が骨盤全体に分散されるため、太ももへの食い込みが減り、血流障害や神経損傷のリスクを大幅に低下させます。
  • 救助までの「ゴールデンタイム」を延長: 直立に近い姿勢を保てることで呼吸がしやすくなり、パニックや体力消耗を防ぎながら安全に救助を待つことができます。
  • 動きやすさと安全性の両立: 特殊な分厚いクッション等で重くならないため、通常の作業時の動作を妨げることなく、万が一の際の極めて高い安全性を担保します。

高所作業という危険と隣り合わせの環境で働く人々の「命」だけでなく、「その後の健康と生活」までも守り抜くこの技術は、兵庫県発明協会会長賞の受賞にふさわしい、社会貢献度の極めて高い素晴らしい発明です。

【補足】この記事で登場した技術キーワード

フルハーネス型安全帯
高所作業において墜落時の衝撃を分散し、身体を保持するための個人用保護具です。腰だけでなく肩、胸、腿(もも)など全身の複数箇所をベルトで支える構造を持ち、落下停止時にかかる強大な荷重を一箇所に集中させず全身へ分散させることで、内臓損傷や脊椎へのダメージを最小限に抑える物理的特性を有します。
ハーネス症候群(サスペンション・トラウマ)
墜落後にハーネスで宙吊り状態が続くことで引き起こされる医学的な健康障害です。重力により体重が足の付け根(鼠径部)などのベルトに集中し、血管や神経が強く圧迫されることで下半身の血液が心臓に戻りにくくなり、脳への血流低下や意識喪失、さらには多臓器不全を招く危険性があります。救助までの待機姿勢がいかに重要であるかを示す重要な物理的・医学的課題です。
D環(接続金具)
安全帯のベルトと命綱(ランヤード)を連結するための、アルファベットの「D」の形をした高強度な金属製リングです。落下時の全荷重を受け止める「力の起点」となるパーツであり、その配置位置(背中や胸部など)によって、宙吊りになった際の身体の重心バランスや、各ベルトへ伝わる力のベクトルが決定されます。

特許情報まとめ

発明の名称 ハーネス型安全帯
特許番号 特許第6864355号
特許権者 藤井電工株式会社
発明者 中村 政彦
出願日 平成29年6月26日 (2017.6.26)
登録日 令和3年4月6日 (2021.4.6)
受賞歴 令和7年度 近畿地方発明表彰 兵庫県発明協会会長賞
関連リンク Google Patentsで全文を読む
J-PlatPatで公報・経過情報を確認
[広告スペース]