Patent Memo
技術の「すごい」を特許公報・意匠公報から読み解く解説メモ

【製造・生産技術】アルミ電線の腐食を防ぐ!古河電気工業・古河ASの「密閉型防食端子」

製造・生産技術 自動車・輸送・物流 作成日: 2026.03.17
[広告スペース]

今回ご紹介するのは、令和7年度 近畿地方発明表彰において「近畿経済産業局長賞」を受賞した、古河電気工業株式会社および古河AS株式会社の「圧着端子、接続構造体及びコネクタ(特許第5535408号)」です。

自動車の燃費向上やEV化に伴う軽量化の切り札として、ワイヤハーネス(車の神経となる電線)を重い銅から軽い「アルミ」へ置き換える動きが加速しています。しかし、そこには「アルミと銅合金端子に水がかかると、激しく腐食してしまう」という致命的な課題がありました。

本特許は、ファイバレーザ溶接という最先端の加工技術を用いて、端子そのものを「水が絶対に入らない完全な密閉カプセル」にしてしまうことで、この腐食問題を根本から解決した世界トップクラスの製造技術です。

【課題】アルミ電線化を阻む「異種金属接触腐食」の壁

自動車の軽量化において、電線の導体を「銅」から「アルミニウム」へ変更することは非常に効果的です。しかし、車のコネクタ端子にはバネ性や電気伝導性に優れた「銅合金」が使われます。

アルミニウムと銅合金という異なる金属が接触している部分に、泥水や融雪剤を含んだ塩水がかかると、電池のような化学反応が起きてしまい、アルミニウム側がボロボロに溶けてしまう「異種金属接触腐食(ガルバニック腐食)」が発生します。これにより、導電性が失われ、最悪の場合は断線してしまいます。

これを防ぐために、従来は圧着した部分を樹脂モールドで覆ったり、熱収縮チューブを被せたりして防水処理を行っていました。しかし、車1台に何千か所もある端子のすべてにこの後処理を行うのは、部品点数と製造コストが跳ね上がるため、現実的ではありませんでした。

【解決策】端子自体をレーザ溶接して「密閉管」にする

古河電気工業および古河ASは、後から防水処理を追加するのではなく、プレス成形とレーザ溶接を組み合わせて「端子自体を密閉された筒状(底ありの管)」にしてしまうという画期的な構造を発明しました。

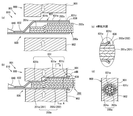
レーザ溶接工程を示す斜視図
図1:密閉型防食端子のレーザ溶接工程。金属板を丸めて筒状にし、合わせ目と先端の重なり部分にファイバレーザを照射して完全に塞いでいます。(出典:特許第5535408号)

1. プレス成形とファイバレーザ溶接の融合

通常、継ぎ目のない筒(キャップ)を作ろうとすると「深絞り」というコストのかかるプレス加工が必要になります。

本特許では、平らな金属板を曲げて筒状に丸め、その合わせ目(突合せ部)と、先端を折り曲げて塞いだ部分(重ね合わせ部)を、超高エネルギーの「ファイバレーザ」で一気に連続溶接します。これにより、電線を挿入する側(後方)だけが開口した、水漏れの一切ない「密閉管構造」を、通常のプレス加工と同等のハイスピードで作り出すことに成功しました。

2. 電線被覆ごと圧着して完璧な止水を実現

このレーザ溶接で作られた密閉管の中に、被覆(ゴム)を剥いたアルミ導体を挿入します。

そして、端子の上から強い力でかしめる(圧着する)際、内部のアルミ導体だけでなく、入り口側の「電線の被覆部分」ごと端子を密着させて圧着します。

電線圧着後の断面図
図2:電線圧着後の断面図。先端はレーザ溶接で密閉され、入り口は電線の被覆に食い込むように圧着されるため、内部のアルミ導体には一切水が届きません。(出典:特許第5535408号)
💡 技術のポイント:加工速度の壁を突破する「ファイバレーザ」の活用

この特許の最大のブレイクスルーは、非常に高速な端子の連続プレス成形ラインに「ファイバレーザ溶接」を完全に同期させた点です。従来のアーク溶接等ではスピードが遅く量産に向きませんが、深く・狭く・超高速で溶け込ませることができるファイバレーザの特性を極限まで引き出すことで、「低コストなプレス加工」と「完璧な防水性」を両立させました。

【効果】クルマの軽量化と環境負荷低減を加速させる基盤技術

このファイバレーザ溶接による密閉型防食端子の量産化により、自動車産業に以下のような劇的な効果がもたらされました。

  • 圧倒的な防食性能と信頼性向上: アルミ導体が金属カプセルと被覆材によって完全に外部環境から遮断されるため、過酷な塩水環境下でも異種金属接触腐食を確実に防止します。
  • 樹脂チューブ等の後工程を排除し低コスト化: 防水シール材や熱収縮チューブを後から被せたり加熱したりする面倒な工程が不要になり、部品点数と製造コストを大幅に削減できます。
  • 自動車の劇的な軽量化(アルミ化)への貢献: 腐食の不安なくアルミ電線を採用できるようになったことで、車両全体のワイヤハーネスの大幅な軽量化が実現し、燃費向上やCO2削減に大きく貢献します。

電動化(EVシフト)が進む中、車体の軽量化は航続距離を伸ばすための最重要課題です。素材の弱点(腐食)を、最先端の「レーザ加工技術」と「端子構造の工夫」で鮮やかに解決したこの特許は、近畿経済産業局長賞の受賞にふさわしい、モビリティ社会の進化を支える素晴らしいイノベーションです。

【補足】この記事で登場した技術キーワード

異種金属接触腐食(ガルバニック腐食)
異なる種類の金属(例:アルミ電線と銅端子)が接触した状態で水分が付着した際、電池のような反応が起きて一方の金属が急速に腐食する現象です。自動車の軽量化のためにアルミ電線を採用する場合、この腐食をいかに防ぐかが接続部の信頼性を左右する最大の課題となります。
圧着端子
電線の端末に専用の工具で圧力をかけ、金属を塑性変形させて機械的・電気的に接続するための部品です。ハンダ付けを使わないため量産性に優れますが、アルミ電線の場合は接続部への水分の侵入を物理的に遮断する高度な密閉設計が必要になります。
ファイバレーザ(ファイバレーザ溶接)
光ファイバを媒体として増幅された、極めてエネルギー密度の高いレーザ光のことです。深く、狭く、超高速で金属を溶かし合わせることができるため、1秒間に何個も生産される端子の超高速プレスラインの中でも、一瞬で「完全密閉」の溶接を完了させることができます。

特許情報まとめ

発明の名称 圧着端子、接続構造体及びコネクタ
特許番号 特許第5535408号
特許権者 古河電気工業株式会社
古河AS株式会社
発明者 川村 幸大、高村 聡、外池 翔、木原 泰、八木 三郎、繁松 孝、水戸瀬 賢悟、茅原 崇
出願日 平成25年7月9日 (2013.7.9) ※国際出願日
登録日 平成26年5月9日 (2014.5.9)
受賞歴 令和7年度 近畿地方発明表彰 近畿経済産業局長賞
※併せて「実施功績賞」を受賞
関連リンク Google Patentsで全文を読む
J-PlatPatで公報・経過情報を確認
[広告スペース]