Patent Memo
技術の「すごい」を特許公報・意匠公報から読み解く解説メモ

【製造・生産技術】溶接の深さをリアルタイムに測る!パナソニックの「OCTレーザ加工技術」

製造・生産技術 自動車・輸送・物流 作成日: 2026.03.12
[広告スペース]

今回ご紹介するのは、令和7年度 近畿地方発明表彰において「文部科学大臣賞」を受賞した、パナソニックIPマネジメント株式会社の「レーザ加工装置、制御方法、および補正データ生成方法(特許第7398725号)」です。

電気自動車(EV)のバッテリーなど、絶対に失敗が許されない最先端のモノづくり現場では「レーザ溶接」が大活躍していますが、溶接した金属が「規定通りの深さまでしっかり溶けてくっついているか」を確認するのは非常に困難でした。

この特許は、医療などでも使われる光干渉断層計(OCT)を用い、レーザで金属を溶かしている「まさにその瞬間」の深さをリアルタイムで測定するという、世界トップクラスの製造技術です。

【課題】加工レーザと測定光の「ズレ」が命取りになる

レーザ溶接を行う際、強いレーザ光によって金属が溶けると、そこに「キーホール」と呼ばれる深い穴が開きます。このキーホールの深さを測ることで、溶接の品質を確認します。

OCT(光干渉)技術を使ってこの深さを測るためには、「加工用のレーザ光」と「測定用のOCT光」を同じレンズに通して照射し、測定光をキーホールの最も深い部分(底)にドンピシャで当てる必要があります。

しかし、加工用レーザと測定光は光の波長(色)が違うため、レンズを通る時に微妙な屈折の差が生まれ、どうしても到達位置に「ズレ」が生じてしまいます。キーホールは非常に細くて小さいため、測定光がわずかでもズレると壁に当たってしまい、正確な深さが測れないという大きな壁がありました。

【解決策】「加工用」と「補正用」、2つのミラーで完璧に制御する

パナソニックは、このズレを解消するために、「加工用ガルバノミラー」に加えて、測定光の角度だけを微調整する「補正用ガルバノミラー」をシステムに組み込むという画期的な構造を発明しました。

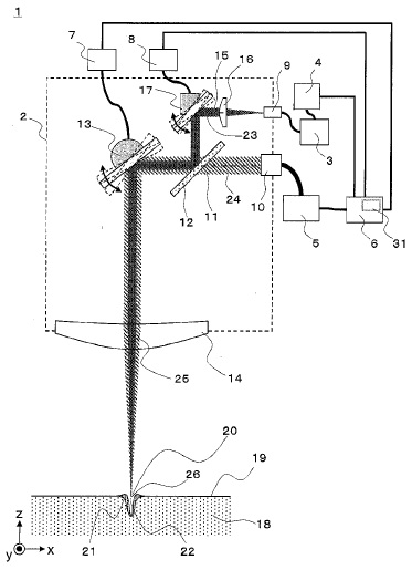
レーザ加工装置の全体構成図
図1:レーザ加工装置の全体構成図。強い加工レーザの経路と、測定光の経路がレンズの手前で合流しています。測定光の経路上に「補正用ガルバノミラー」が配置されており、ここで微細な角度調整を行います。(出典:特許第7398725号)

1. 測定光専用の「補正用ミラー」を追加

図1の通り、レーザ溶接を行う強い光(加工レーザ)と、深さを測るための光(測定光)は、途中で合流して同じ集光レンズ(fθレンズ)を通り、対象の金属へと照射されます。

しかし、この2つの光は「波長(色)」が異なるため、レンズを通過する際の屈折率に差が生じます。これが着弾点に「ズレ」を生む最大の原因です。

本特許では、測定光の通り道に専用の「補正用ガルバノミラー」を配置しています。メインの加工用ミラーの動きに合わせて、この補正用ミラーが「レンズの屈折によるズレ」を完全に相殺するような微細な角度調整を行います。これにより、どれだけ高速で広範囲を溶接していても、測定光を常にキーホールのど真ん中(最深部)に命中させることができるのです。

2. 本番は「地図」を読み出して瞬時に補間

いくら補正用ミラーがあっても、その場で計算していては超高速な溶接スピードに追いつけません。そこで、実際の加工を行う前にあらかじめ「格子状パターン(網の目状のポイント)」を設定し、「加工用ミラーの角度」と「補正用ミラーの角度」のペアをすべて記録したデータテーブル(補正数表)を作っておきます。

実際の溶接加工中は、複雑な計算は行いません。溶接したいポイントが決まると、システムはこの「補正数表」をメモリから読み出します。もし加工ポイントが格子点の間にある場合は、周辺の4点から補間処理(予測計算)を行って瞬時に補正角を割り出します。

補正数表の格子状パターンと補間処理のイメージ
図2:加工面上に設定された格子状パターンのイメージ。任意の加工ポイント(X)に対して、周囲の4点(A, B, C, D)のデータを用いて補間計算を行うことで、どこにレーザを当てても完璧な補正が行われます。(出典:特許第7398725号)
💡 技術のポイント:計算を「事前準備」に逃がす賢さ

この技術の秀逸な点は、「事前のマッピング」と「本番での読み出し」を完全に分けたことにあります。本番では複雑な演算をせず、表を読み出して間を補完するだけなので、計算負荷が極めて軽く、超高速・高精度なリアルタイム制御が可能になったのです。

【効果】「切って確認する」時代から「全数リアルタイム検査」の時代へ

この特許技術により、製造現場に以下のような劇的な変化がもたらされます。

  • 全数・非破壊検査の実現: これまで常識だった「製品を切断して断面を見る(破壊検査)」がなくなり、溶接しているその瞬間にすべての製品の深さを計測(非破壊検査)できるようになります。
  • 製品ロスの削減とコストダウン: 検査のために製品を破壊する必要がなくなり、また不良品の発生をリアルタイムに検知できるため、無駄な材料費や製造コストを大幅に削減できます。
  • 高い安全性の担保: EV(電気自動車)のバッテリー製造など、絶対に液漏れやショートが許されない製品において、完璧な品質保証が可能になります。

検査のための人員や製品ロスを極限まで減らしつつ、製品の安全性を完全に担保するこの技術は、日本のモノづくり産業全体のコスト競争力を一段階引き上げる、極めて経済的価値の高い特許技術です。

【補足】この記事で登場した技術キーワード

OCT(光干渉断層計)
光の干渉性を利用し、物体内部の断層構造を非破壊で測定・画像化する技術です。低干渉光を対象物と参照面に照射し、その反射光が重なり合う際の干渉信号を解析することで、マイクロメートル単位の極めて高い分解能で深さ方向の情報を取得できます。
ガルバノミラー
高速・高精度な角度制御が可能な小型のミラー(鏡)を駆動させるスキャンデバイスです。電気信号に応じてレーザ光の反射角度を瞬時に変化させることで、光の照射位置を自由自在かつ高速に走査するための「光のステアリング」として機能します。
キーホール
高出力レーザの照射によって金属が局所的に蒸発し、その蒸気圧によって形成される細く深い空孔です。この空孔の内部でレーザ光が多重反射することで、エネルギーが深部まで効率よく伝達され、深溶け込み溶接が可能になります。

特許情報まとめ

発明の名称 レーザ加工装置、制御方法、および補正データ生成方法
特許番号 特許第7398725号
特許権者 パナソニックIPマネジメント株式会社
発明者 武智 洋平、横山 潤、浦島 毅吏
出願日 令和1年5月16日 (2019.05.16)
登録日 令和5年12月7日 (2023.12.07)
受賞歴 令和7年度 近畿地方発明表彰 文部科学大臣賞
※併せて「実施功績賞」を受賞
関連リンク Google Patentsで全文を読む
J-PlatPatで公報・経過情報を確認
[広告スペース]