Patent Memo
技術の「すごい」を特許公報・意匠公報から読み解く解説メモ

【自動車・輸送・物流】海の中を3Dで透視して魚群を量る!古野電気の「次世代・水中探知」技術

自動車・輸送・物流 IT・通信・ソフト 作成日: 2026.03.13
[広告スペース]

今回ご紹介するのは、令和7年度 近畿地方発明表彰において「特許庁長官賞」を受賞した、古野電気株式会社の「水中探知装置および水中探知画像の表示方法(特許第7419086号)」です。

世界で初めて魚群探知機を実用化したトップメーカーである古野電気。現代の漁業では海中を立体的(3D)に把握するソナーが使われていますが、単に3Dで表示するだけでは「狙った魚の群れがどれくらいの規模なのか」を正確に知ることは困難でした。

この特許は、3Dの海中画像を医療用MRIのように「スライス(輪切り)」し、邪魔な手前の海水を透けさせることで、奥にいる魚群の重さ(トン数)をズバリ計測してしまうという、水産業のデジタル化(水産DX)を劇的に進めるユーザーインターフェースの発明です。

【課題】3Dで海を見ると、奥の魚が「隠れて見えない」

近年のソナーは、自船の周囲の海中を広範囲にスキャンし、立体的な3Dの「探知画像ボリューム」として画面に表示できます。

しかし、海の中には狙っている魚群以外にも、プランクトンや別の小魚の群れ、海底の地形など、さまざまな物体が存在します。そのため、海の中をそのまま3Dモデル化してしまうと、手前にある物体が邪魔になって奥の魚群が隠れてしまい、全貌を把握できないという弱点がありました。

また、画面上で魚群を見つけたとしても、「それが具体的に何トンくらいいるのか」は漁師の長年の勘に頼るしかありませんでした。

【解決策】切って、透かして、枠で囲む!直感的な3D計測

古野電気は、3D空間内での「視点」と「断面(スライス)」の扱い方を根本から見直し、奥にいる魚群を正確に捉えて計測できる画期的な操作システムを発明しました。

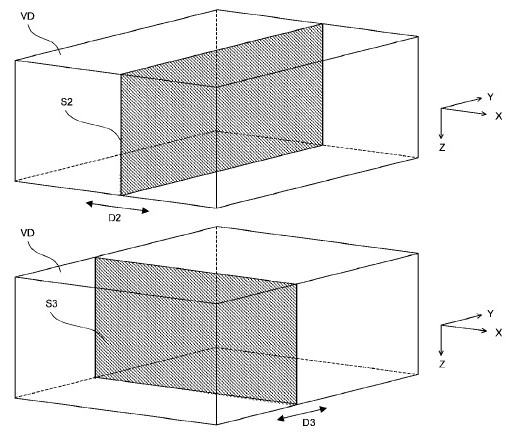
スライス面を設定した3D探知画像空間の概念図
図1:3Dの探知画像空間(VD)の概念図。船(20)の真下の海中空間に対して、任意の角度や深さで「スライス面(S1, S2, S3など)」を自由に設定することができます。(出典:特許第7419086号)

1. 邪魔な手前側だけを「透過」させる

図1のように、ユーザーがコントローラーを使って3Dの探知空間内に任意の「スライス面」を設定します。するとシステムは、そのスライス面よりも「視点側(手前側)」にある探知画像を半透明(透過表示)にします。

これにより、手前の障害物や不要な小魚の群れを透かして、スライス面の奥にいる「本当に狙いたい魚群の断面」だけをハッキリと画面に映し出すことができるのです。

2. 3Dの「計測枠」を操作して重さを量る

断面が見えたら、次は具体的な魚群の量を測ります。画面上に立体的な「計測枠(計測範囲)」を呼び出し、カーソル移動やホイール操作で枠の大きさを変更して、狙った魚群をすっぽりと囲み込みます。

枠を確定すると、システムが枠内のソナーデータから「魚量(1.1 tなど)」「深度」「高さ」を瞬時に計算し、画面上にリアルタイムで表示してくれます。

魚量や深度をリアルタイムに計算・表示するGUI画面
図2:計測結果の表示画面イメージ。設定した計測枠内のデータからリアルタイムに重量が算出されるため、勘に頼らない漁獲が可能です。(出典:特許第7419086号)
💡 技術のポイント:移動方向に応じたスマートな視点切り替え

このシステムが優秀なのは、スライス面を動かすと、その「移動方向に応じた視点」へ自動的にカメラアングルが切り替わる点です。
例えば、海を横から輪切りにして奥へ進んでいくときは横からの視点になり、上から下へ輪切りにしていくときは見下ろす視点にシームレスに変化します。これにより、広大な3D空間内でもユーザーが迷子にならず、狙った魚群を確実にロックオンできるのです。

【効果】「獲りすぎ」を防ぎ、持続可能なスマート漁業を実現する

この特許技術により、水産業において以下のような革新が実現します。

  • 直感的な漁獲量の把握: 画面のGUI上で魚群を囲むだけで、誰でも直感的に魚量や深度を正確に数値として把握できるようになります。
  • 無駄のない計画的な操業: 「網を入れてみないと分からない」というギャンブル性がなくなり、船の積載限界やターゲット魚種に合わせて「必要な分だけを正確に獲る」ことが可能になります。
  • 水産資源の保護: 漁獲枠(クオータ制)を厳格に守りながら効率よく操業できるため、海の資源を枯渇させない持続可能な漁業に直結します。

長年培われてきた漁師の勘と経験を最先端のデジタル技術で補完し、効率化と環境保護を両立させる(水産DX)。まさに未来の海を守るための、非常に社会的価値の高い特許技術です。

【補足】この記事で登場した技術キーワード

3Dソナー(水中探知)
超音波を水中に発射し、物体に当たって戻ってくる反射波を解析することで、水中の物体の位置や形状を三次元的に把握する装置です。自船を中心とした全周囲や広範囲の空間データを一括で取得できるため、海底の地形や魚群の立体的な広がりをリアルタイムに可視化することが可能になります。
ボリュームレンダリング
三次元空間内に定義された数値データ(ボリュームデータ)を、2Dの画面上に可視化する手法です。各点(ボクセル)に色だけでなく「透明度(アルファ値)」を与えることができるのが特徴です。特定の層や不要なデータを透けさせることで、複雑な3D構造の内部や奥に隠れたターゲットを直感的に観察することができます。
資源量調査(魚群量計測)
ソナーが受信した反射波の強さ(エコー強度)から、対象となる魚群の総重量や個体数を推定する手法です。魚の浮き袋などから跳ね返る音響エネルギーの総和を統計的に処理することで、「何トンの魚がそこにいるか」を数値化します。勘に頼らない計画的な操業や、水産資源の適切な管理(サステナブル漁業)に不可欠な技術です。

特許情報まとめ

発明の名称 水中探知装置および水中探知画像の表示方法
特許番号 特許第7419086号
特許権者 古野電気株式会社
発明者 西坂 政浩、葛原 一浩、山崎 勇輝
出願日 令和2年1月29日 (2020.1.29)
登録日 令和6年1月12日 (2024.1.12)
受賞歴 令和7年度 近畿地方発明表彰 特許庁長官賞
※併せて「実施功績賞」を受賞
関連リンク Google Patentsで全文を読む
J-PlatPatで公報・経過情報を確認
[広告スペース]