Patent Memo
技術の「すごい」を特許公報・意匠公報から読み解く解説メモ

【IT・通信・ソフト】AIで空調機の汚れを見抜く!ダイキン工業の「汚れ情報推定システム」

IT・通信・ソフト 機械・ロボット 作成日: 2026.03.19
[広告スペース]

今回ご紹介するのは、令和7年度 近畿地方発明表彰において「発明協会会長賞」を受賞した、ダイキン工業株式会社の「汚れ情報推定システム(特許第6944962号)」です。

オフィスや店舗の天井に設置されている空調機の内部には、冷房時に発生する結露水を受け止める「ドレンパン」という部品があります。ここに水が溜まるとカビやバクテリアが繁殖してスライム状の汚れとなり、水漏れや悪臭の原因となるため、定期的なメンテナンスが欠かせません。

本特許は、空調機内に設置したカメラの画像に加えて、空調機の「運転データ」や「環境データ」をAI(機械学習モデル)に入力することで、これまで難しかった汚れの進行度合いを極めて高い精度で推定するIoT時代の最先端システムです。

【課題】「カメラ画像だけ」では汚れの判定に限界がある

ドレンパンの汚れを確認するため、従来は作業員が天井裏を覗き込んだり、パネルを取り外したりして目視で点検を行っていました。近年では、空調機内部にカメラを取り付けて遠隔から画像で確認するシステムも登場しています。

しかし、空調機の内部は暗く、さらにドレンパン内には水が張っているため、水面の揺らぎや光の反射が邪魔をしてしまいます。そのため、「単なる水の波紋」なのか「スライム状の汚れ」なのかを画像(AIの画像認識)だけで正確に見分けることは、技術的に非常に困難でした。

汚れを見逃せば水漏れ事故につながり、逆に過敏に反応しすぎると不必要なメンテナンス出動が増え、コストがかさんでしまうという課題を抱えていました。

【解決策】「画像」+「運転・環境データ」のハイブリッドAI判定

ダイキン工業は、画像という「視覚情報」に頼り切るのではなく、空調機自身が持っている「文脈情報(コンテキスト)」をAIに学習させるという画期的なアプローチでこの課題を解決しました。

汚れ情報推定システムのブロック図
図1:システムの全体構成。空調機(10)から取得した「画像データ」だけでなく、「運転データ」や「環境データ」をクラウド上のAI推定モデル(82)に入力し、汚れを判定します。(出典:特許第6944962号)

1. 汚れの「原因」となるデータをAIに入力する

ドレンパン内のスライム汚れは、突然発生するわけではありません。「冷房運転が長く続いた」「室内の湿度が高い状態が続いた」といった特定の条件下で菌が繁殖しやすくなります。

本システムでは、カメラが撮影した「画像データ」とともに、空調機の「運転データ(冷房の積算時間や風量など)」や、各種センサから得られる「環境データ(温度や湿度など)」をセットにして、学習済みの推定モデルに入力します。

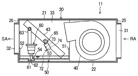
空気調和装置の内部構造図
図2:空調機内部の構造。結露水を受けるドレンパン(50)を狙うようにカメラ(72)が配置されています。(出典:特許第6944962号)

2. 状況に応じた高度な推定の実現

AIモデルは、これらの複合的なデータを学習しています。そのため、仮に画像が少し不鮮明であったり水面が波立っていたりしても、「今は冷房を長時間フル稼働させていて、湿度も高いから、この影はスライム汚れの可能性が高い」といった、人間のベテラン点検員のような「状況を加味した推論」が可能になります。

💡 技術のポイント:「結果」だけでなく「過程」を評価するAI

この特許の秀逸な点は、AIによる画像解析の精度向上を「カメラの性能」や「画像処理アルゴリズムの複雑化」に求めるのではなく、「別次元のデータ(環境・運転履歴)を補助線として与える」ことであっさりと解決した点です。空調機メーカーならではの知見(汚れが発生するメカニズム)をAIの学習モデルに組み込んだ、極めてスマートで実用的なアプローチです。

【効果】スマートビルディングを支える「止まらない空調」の実現

この汚れ情報推定システムにより、ビル管理やメンテナンスの現場に以下のような劇的な効果がもたらされます。

  • 水漏れ等の重大トラブルの未然防止: 汚れの進行を高精度に検知できるため、ドレン配管が詰まって室内に水が溢れるといった致命的なトラブルを未然に防ぐことができます。
  • メンテナンス業務の大幅な効率化: 天井裏での目視点検が不要になり、本当に清掃が必要なタイミングでのみ作業員を派遣する「予知保全(状態基準保全)」が可能になります。
  • 遠隔監視サービスの高度化: 複数のビルやフロアの空調機の状態をクラウド経由で一元管理でき、IoTを活用したスマートビルディングの価値を向上させます。

人手不足が深刻化するビルメンテナンス業界において、機器自らが状態を高精度に診断するこの技術は、社会的意義が非常に大きく、発明協会会長賞の受賞にふさわしい素晴らしいイノベーションです。

【補足】この記事で登場した技術キーワード

ドレンパン
空調機の冷房運転中に発生する結露水を受け止めるための受け皿です。常に水分が滞留しやすい構造であるため、微生物が繁殖しやすく、メンテナンスが行き届かない場合は排水口の詰まりやオーバーフロー(水漏れ)の起点となります。
スライム(微生物由来汚れ)
水中で微生物が菌体外多糖を分泌し、泥状の塊を形成したバイオフィルムの一種です。粘着性が高く、熱交換器のアルミフィンや排水ポンプの動作を阻害するだけでなく、カビ等の二次的な汚染の原因にもなる工業・環境上の課題物質です。
予知保全
機器の状態を常時モニタリングし、得られたデータの解析によって故障や異常の兆候を事前に察知するメンテナンス手法です。機器の稼働データや環境履歴などの「コンテキスト」を解析に加えることで、突発的な故障を未然に防ぎ、保守コストの最適化を図ることができます。

特許情報まとめ

発明の名称 汚れ情報推定システム
特許番号 特許第6944962号
特許権者 ダイキン工業株式会社
発明者 北川 薏太、半田 陽一、野内 義照、西村 政弥
出願日 平成31年2月27日 (2019.2.27)
登録日 令和3年9月15日 (2021.9.15)
受賞歴 令和7年度 近畿地方発明表彰 発明協会会長賞
※併せて「実施功績賞」を受賞
関連リンク Google Patentsで全文を読む
J-PlatPatで公報・経過情報を確認
[広告スペース]