Patent Memo
技術の「すごい」を特許公報・意匠公報から読み解く解説メモ

【環境・エネルギー】薬品購入ゼロで悪臭を絶つ!一芯の「自家生成型・湿式脱臭装置」

環境・エネルギー 素材・化学 作成日: 2026.04.06
[広告スペース]

今回ご紹介するのは、令和7年度 近畿地方発明表彰において「兵庫県発明協会会長賞」を受賞した、株式会社一芯の「湿式脱臭装置および脱臭方法(特許第6430451号)」です。

下水処理場や工場などから発生する硫化水素などの悪臭ガスを処理するため、これまでは脱臭用の薬品(次亜塩素酸ナトリウムなど)を大量に購入して消費する「薬品注入法」が一般的でした。

本特許は、外部から薬品を購入するのではなく、装置内で電気分解を行って脱臭成分を「自家生成」することで、ランニングコストと管理の手間を劇的に削減する画期的な自己完結型の環境保護システムです。

【課題】大量の「薬品消費」がもたらす高い維持費と手間

従来の湿式脱臭装置では、悪臭ガス(H2Sなど)を化学的に分解するために、次亜塩素酸ナトリウム(NaOCl)などの薬品をタンクから継続的に注入していました。

しかし、この薬品注入法では、常に大量の薬品を消費するため、ランニングコスト(薬品代)が非常に高額になるという大きな課題がありました。

また、危険な薬品を定期的に購入・輸送し、現場のタンクに補充し続ける必要があり、保管スペースの確保や維持管理のオペレーションにも多大な労力がかかっていました。

【解決策】電解槽を組み込み、脱臭薬液を「自家生成」する

株式会社一芯は、外部の薬品に頼るのではなく、装置内で「電解法」を用いて脱臭薬液そのものを作り出し、循環させるというスマートな解決策を発明しました。

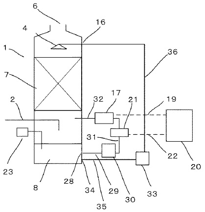
湿式脱臭装置の構成図
図1:湿式脱臭装置の構成図。脱臭塔(左側)に接続された配管ループの中に電解槽(17)が組み込まれており、自家生成した薬液を循環させて悪臭を処理します。(出典:特許第6430451号)

1. 電解槽による脱臭成分の連続生成

本技術では、図1に示すように脱臭システムの一部に「電解槽(17)」が組み込まれています。

食塩水などを電気分解することで、次亜塩素酸を含む脱臭効果の高い電解水を装置内で自ら作り出します。この生成された新鮮な薬液が脱臭塔へと循環・スプレーされ、流入してきた悪臭ガスと気液接触することで、臭いの元を強力に酸化・分解します。

2. ランニングコストの大幅な削減を証明

自家生成システムへの切り替えにより、施設運営におけるコスト構造が劇的に改善されます。

比較例と本実施例のコスト比較表
表1:薬品注入法と電解法の比較表。電解法を採用することで、高価な薬品代が不要になり、電気代のみで運用できるため、維持コストが大幅に安くなっていることがわかります。(出典:特許第6430451号)

表1に示される通り、従来の薬品注入法ではNaOClの薬品代が年間72,000円かかっていたモデルケースにおいて、本特許の電解法では電解槽の電気代が年間わずか22,006円に抑えられており、ランニングコストが大幅に削減されることが実証されています。

💡 技術のポイント:低コストと高性能の完全な両立

この特許の最も秀逸な点は、コストを劇的に削減しながらも、脱臭性能を一切妥協していない点にあります。比較データが示す通り、電解法に切り替えても、H2S(硫化水素)の出口濃度を0.01ppm以下に抑え、99%以上という極めて高い除去率を安定して発揮し続けています。

【効果】インフラ施設の持続可能性を高めるエコシステム

この自家生成型の湿式脱臭装置により、インフラや産業施設に以下のような大きな効果がもたらされます。

  • 維持管理コストの抜本的削減: 高価な薬品を継続購入する必要がなくなり、電気代とわずかな原料費だけで済むため、施設のランニングコストを大きく圧縮できます。
  • 圧倒的な脱臭性能の維持: 悪臭ガスに対する99%以上の高い除去性能を誇り、周辺環境への臭気漏れを確実に防ぎます。
  • 現場の省力化と安全性向上: 危険を伴う薬品の保管や補充作業から解放されるため、作業員の労力とリスクが軽減されます。

必要なものを外部に依存せず、必要な場所で自ら作り出す「地産地消」のメカニズムは、インフラ施設の老朽化や維持費の高騰が叫ばれる現代において、極めて価値の高い持続可能なソリューションです。

【補足】この記事で登場した技術キーワード

湿式脱臭
悪臭を含むガスを水や薬液などの液体(洗浄液)と接触させ、臭気成分を液体側に溶解させたり、化学反応によって無臭の物質に変化させたりする手法です。フィルターを用いる乾式に比べ、大量のガスを連続的に処理するのに適しており、洗浄液の成分を調整することで特定の臭気(硫化水素など)を効率よく除去できます。
次亜塩素酸ナトリウム
強力な酸化作用を持つ化学物質で、除菌、漂白、そして脱臭の用途で広く利用されています。悪臭の原因となる物質と反応してその構造を破壊(酸化分解)する性質があり、水処理施設や公衆衛生において標準的な薬剤として機能します。
電気分解
溶液に電気を流すことで化学反応を引き起こし、物質を分解したり新しい化合物を生成したりするプロセスです。例えば食塩水を電気分解すると、その場で次亜塩素酸を含む有効成分を取り出すことが可能です。外部から完成された薬品を購入・搬入する代わりに、原料から必要な成分を「その場(オンサイト)」で作り出す手段として応用されます。

特許情報まとめ

発明の名称 湿式脱臭装置および脱臭方法
特許番号 特許第6430451号
特許権者 株式会社一芯
発明者 濱口 正明、濱口 学
出願日 平成28年9月26日 (2016.9.26)
登録日 平成30年11月9日 (2018.11.9)
受賞歴 令和7年度 近畿地方発明表彰 兵庫県発明協会会長賞
関連リンク Google Patentsで全文を読む
J-PlatPatで公報・経過情報を確認
[広告スペース]